「Play Has No Limits」
第一人称动作冒险游戏《死亡岛2》登陆宣传片公开,本作将于4月21日登陆PS5/PS4平台。在丧尸病毒爆发的几个月后,整个世界都陷入了这场末日之中。而你身为拥有免疫体质的幸存者,又该如何活下去?
Media is too big
VIEW IN TELEGRAM
华纳公开多人游戏《哈利波特:魁地奇冠军》,预计登陆主机与PC平台,目前开放测试版申请,正式发售日未定。

https://quidditchchampions.wbgames.com/en
《最终幻想16》特辑“State of Play”如期播出,吉田直树制作人出场,介绍了游戏的故事、世界和战斗系统,并和大家分享了游戏中各式各样的角色扮演游戏元素。
故事的主角是克莱夫·罗斯菲尔德,他的旅程将在一个名为瓦莱瑟亚的国度中展开。游戏会逐步揭开我们主角在人生三个不同时期的故事,分别是少年期、青年期和壮年期,虽然游戏剧情是从克莱夫二十几岁时展开,但可完整游玩的回忆环节能让玩家体验形塑他过去和现在的关键事件。
🔗
据Reddit网友反馈,近期在领取PS+会免游戏后未收到索尼官方发送的确认邮件,在评论区也有不少玩家指出,以往包括领取DLC都会收到“您的PlayStation Store交易已成功”的确认邮件,如今不发送等于无法获取相应的“兑换凭证”,目前官方尚未对此作出回应。
🎮 #出库 #最后的游戏机会
以下游戏将于5月15日离库:

《漫威蜘蛛佒》
《生化危机》
《NBA 2K 欢乐竞技场 2》
《横冲直撞4:癫狂》
《死光 导演剪辑版》
《国土防线:变革》
《神力9号》
《红色派系:游击战 重制版》
《莎木3》
《这是我的战争 孩子们》
《地铁 最后的曙光》
《地铁 2033 Redux》
《天国拯救》
《陆行鸟和不可思议迷宫 Every Buddv》
《Left Alive》
《星之海洋 初次启程R》
《巴兰的异想奇境》
《生存指南 暴风警告版》
《像素海盗》
《六月衷曲》
《维吉尼亚》
《梦陨新章》
《曼岛丁T赛事 边缘竞速2》
《究极大越野 全力以赴》
《环法自行车赛2021》
《守墓人》
《Kona》
《瑞利达》
《逆风停航》
《克罗诺斯 灰烬之前》
《开拓者 拥王者决定版》
🎮 #港服 #欧美服 #目录
🎮 公布2023年4月PS+港/欧美服二档游戏目录、三档经典游戏库新增游戏完整列表公开,全部于4月18日入库:

二档游戏:

PS5/PS4 「凯娜 精神之桥」
PS5/PS4 「毁灭战士 永恒」
PS5/PS4 「极限国度」
PS4 「德军总部2」
PS4 「杀戮尖塔」*
PS5/PS4 「怪物男孩与被诅咒的王国」*
PS4 「恶灵附身」
PS4 「德军总部 旧血脉」
PS5/PS4 「鲈鱼大师赛」
PS5/PS4 「天堂杀手」*
PS5/PS4 「麻布仔大冒险」

三档经典游戏:

PS4 「毁灭战士」
PS4 「毁灭战士2」
PS4 「毁灭战士64」
PS4 「毁灭战士3」
PS4 「耻辱 决定版」

* 港区缺少了「杀戮尖塔」「怪物男孩和中咒王国」「天堂岛杀手」
小岛秀夫分享了一些《死亡搁浅2》的工作花絮照,其中也拍摄了参与游戏演出的演员艾丽·范宁和忽那汐里。
顽皮狗今日发布了PS5平台《最后生还者 第一部》1.03版本更新说明,以下为主要内容:
1、追加了HBO剧版艾莉服装。
2、队友AI在向敌人投掷砖块时会更精准,且会在玩家被敌人抓住时会营救玩家。
3、提升了霰弹枪基础伤害。
4、用双手武器进行近战攻击,能直接终结被击昏的敌人。
5、近战攻击敌人膝盖时可直接终结敌人。
6、人类敌人受到攻击时更容易被击倒。
7、修复了一系列问题。
索尼宣布,将于北京时间4月14日早5点举办最新一期《最终幻想16》专场State of Play,期间将带来超过20分钟的游玩演示!
《星球大战 绝地:幸存者》公开最终游戏预告,4月28日登陆PS5、Xbox Series X|S、Steam平台,支持中文。紧随卡尔的脚步,在银河系进一步陷入黑暗的同时,与各方敌人展开日益艰难的决斗。

在被帝国势力逼到银河系的边缘地带之际,卡尔将发现自己逐渐被新旧威胁势力所包围。作为绝地武士最终幸存者的一员,卡尔不得不在银河系最为黑暗的时期挺身而出——但他愿意付出多大的代价来保护自己和队友,以及绝地武士团的传承呢?
Media is too big
VIEW IN TELEGRAM
#传闻
近日我们报道了业内人士透露索尼正在开发用于串流PS5的新掌机「Q Lite」的消息。而据知名海外播主RedGamingTech爆料,这款新掌机不仅能够游玩普通的PS5游戏,还可以兼容游玩PS VR2。虽然目前还不清楚是以何种形式来实现,但推测可能也是通过串流的方法。

据说「Q Lite」掌机最高支持1080P/60FPS串流。在外观上,从设计原型来看有些类似PS5手柄,但中央有个8英寸的LCD触控屏支持自适应扳机和触觉反馈
🔗 EXCLUSIVE – Sony’s Next PlayStation Handheld
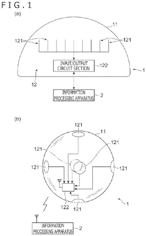
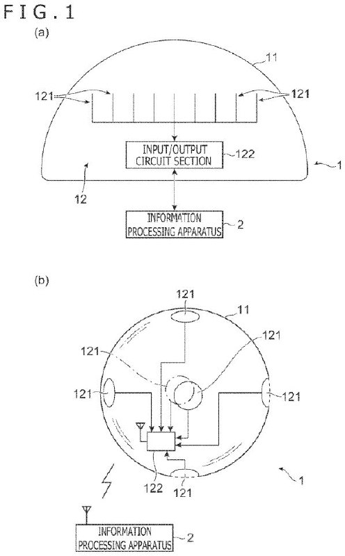
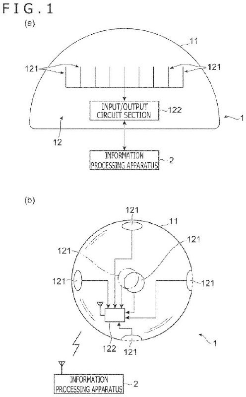
索尼近期申请了一份关于游戏手柄的技术专利,该技术专利描述显示,手柄可根据玩家的游戏内容进行温度变化,增强交互性体验。

在专利具体描述中,索尼提到:本专利将在手柄上设置一种可接受电信号的弹性凝胶,在玩家游戏中进入不同区域后进行温度反馈,例如火山手柄就会变烫,雪原手柄就会变冷,给玩家带来更沉浸式的游戏体验。
Back to Top