PlayStation 新闻转发
14:42 · 2023年4月7日 · 周五
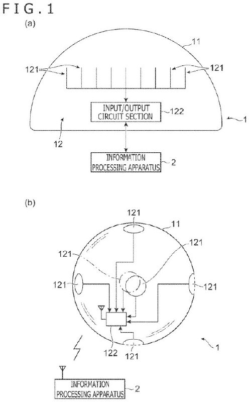
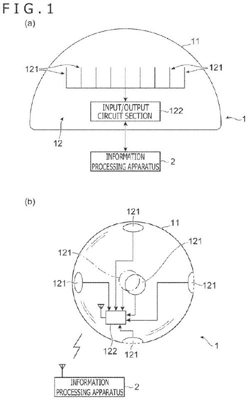
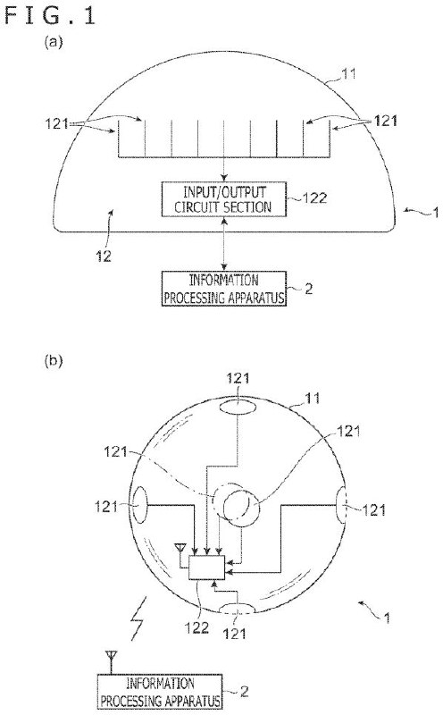
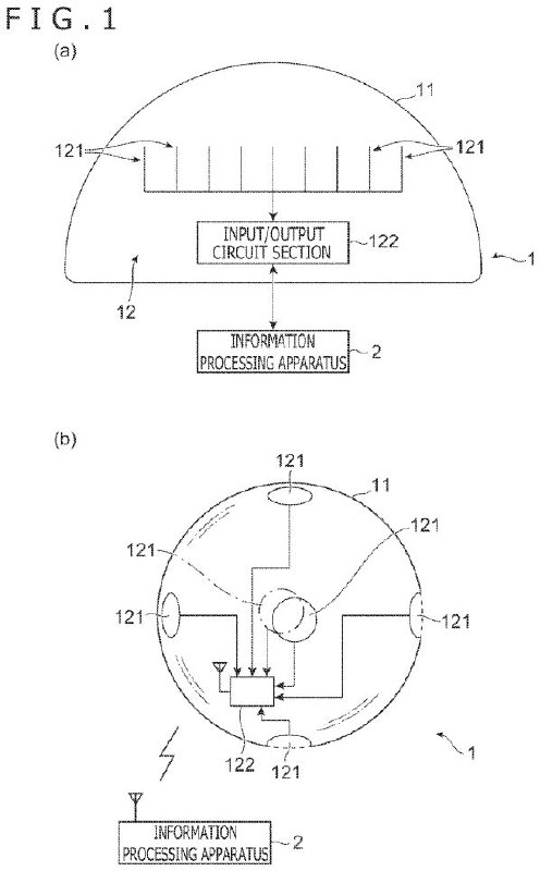
索尼近期申请了一份关于游戏手柄的技术专利,该技术专利描述显示,手柄可根据玩家的游戏内容进行温度变化,增强交互性体验。
在专利具体描述中,索尼提到:本专利将在手柄上设置一种可接受电信号的弹性凝胶,在玩家游戏中进入不同区域后进行温度反馈,例如火山手柄就会变烫,雪原手柄就会变冷,给玩家带来更沉浸式的游戏体验。
Home
Powered by
BroadcastChannel
&
Sepia