PlayStation 新闻转发
14:34 · 2022年7月4日 · 周一
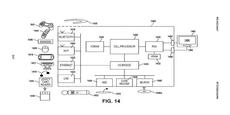
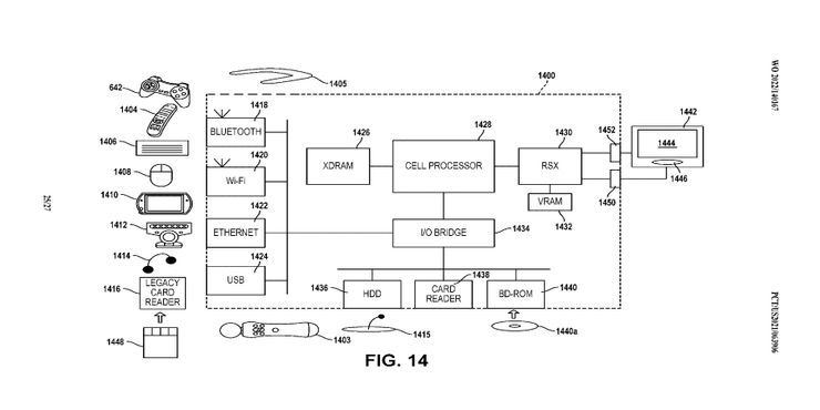
Game Rant公开了一项PlayStation最近申请的专利,根据专利图的示意,索尼似乎正在尝试让一些老的设备能够在PS5上使用,例如PSP GO、DualShock 3、EYETOY等,更多详情尚未公布。
Home
Powered by
BroadcastChannel
&
Sepia