PlayStation 新闻转发
00:04 · 2024年1月3日 · 周三
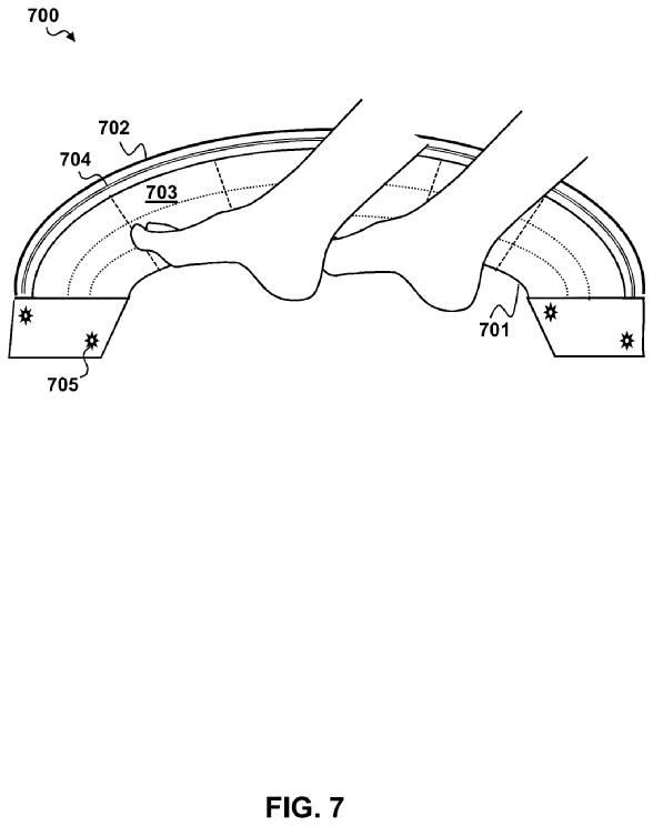
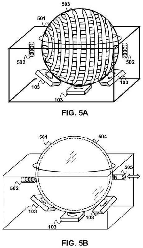
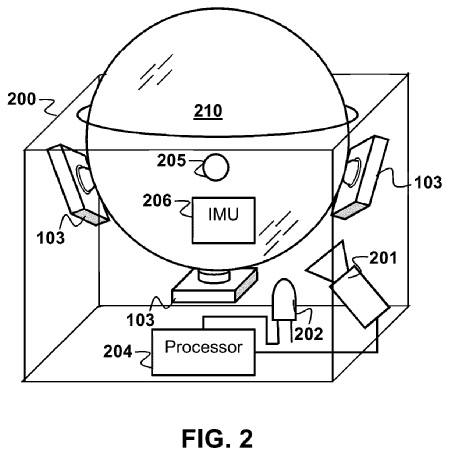
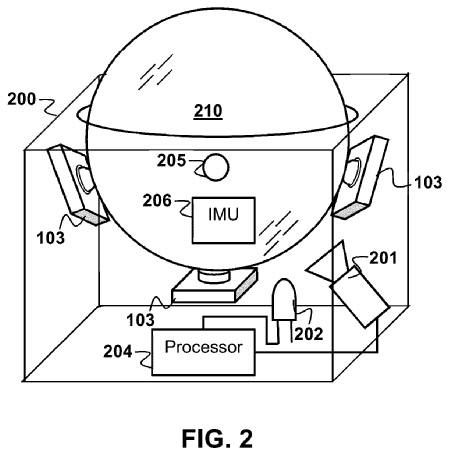
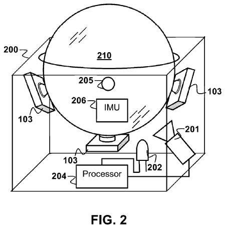
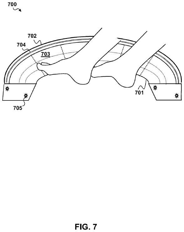
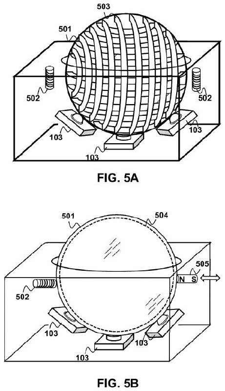
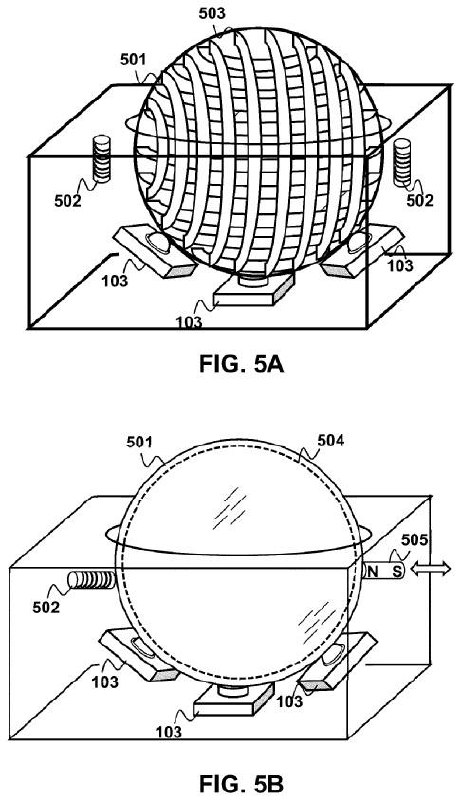
索尼近日发布了两款用脚操控 AR/VR 控制器的专利,第一个是球体控制器,每个球下方有三个或更多轴承支持,可以在至少两个方向上旋转。第二个是向上弯曲的半圆形碗状脚踏控制器,带有临近感测功能。两款设备均适用嵌入式系统、移动端、PC等设备。
Home
Powered by
BroadcastChannel
&
Sepia