PlayStation 新闻转发
14:47 · 2023年6月7日 · 周三
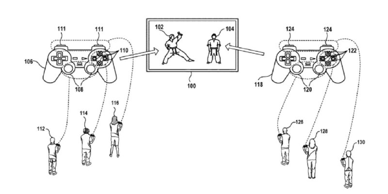
据外媒报道,索尼公开了一项有关PlayStation的专利,这项专利将可以让玩家通过云游戏服务来共享一个手柄,例如让不同的玩家来控制摇杆、按键和扳机键,从而能构建出一些新玩法。
Home
Powered by
BroadcastChannel
&
Sepia