「Play Has No Limits」
#传闻
据传《碧蓝幻想 Relink》1月12日将在PS4/PS5上开启试玩,包括3种模式和11个角色,可能有几个小时的内容。将会有一个支持4人联机的任务,游戏进度支持保留到正式版。
「Daniel Linssen」在 itch.io 免费上架了一款的像素字体资产包「m6x11」,涵盖了大小写字母、数字、符号,语言方面支持荷兰语、法语、德语、意大利语、挪威语等。

https://managore.itch.io/m6x11
索尼PlayStation今日在官网开通了2024年即将到来的佳作预览页面,并公布了一段预告视频,以下为此次预告中的作品名单:

《最终幻想7:重生》
《波斯王子:失落的王冠》
《自杀小队:战胜正义联盟》
《星刃》
《最后生还者 第二部:高清重制版》
《地狱潜者2》
《龙之信条2》
《Concord》
《铁拳8》
《Pacific Drive》
《Forever Skies》
《The Casting of Frank Stone》《浪人崛起》
《合金装备Δ:食蛇者》
《碧蓝幻想:Relink》
《Foamstars》
《寂静岭2》
《人中之龙8》
《勇敢小骑士》
🔗
被嘲讽了🦖

PlayStation UK:我们可以低价买《如龙0》到《如龙6》

Xbox UK:我们XGP就能玩《如龙0》到《如龙6》
育碧公开了《波斯王子:失落的王冠》主机版运行情况和PC要求配置,其中PS5版支持4K/120FPS、PS4 Pro版支持4K/60FPS、PS4版支持1080P/60FPS。本作将在1月18日登陆PS4/PS5/Switch/Xbox One/Xbox Series X|S/PC,支持中文。
索尼因滥用其在 PS4 手柄供应市场的主导地位而被法国监管机构罚款 1352 万欧元。

首先是自2015年11月起,索尼通过技术对策影响了第三方游戏控制器(由索尼以外的制造商生产且没有索尼官方授权)的正常运行,它们在系统更新期间会经常断开连接。据索尼称这是为了打击假冒产品,法国监管机构认可打击假冒目标的合法性,但他们指出这类措施是不合适的,因为它不分青红皂白地影响到了所有无授权的控制器。

其次是不透明的许可政策,在一些情况下阻止了想要销售 PS4 兼容控制器的竞争对手公司加入 OLP(官方授权产品)合作伙伴计划,这是第三方获得官方许可和唯一识别码的唯一途径。 法国竞争管理局发现,通过拒绝向提出要求的制造商传达 OLP 准入标准,索尼以自由裁量的方式应用了该标准,而加入该计划是避免手柄断开连接的唯一方法。

法国监管机构认为,这两种做法的结合严重损害了第三方制造商在参与和分销方面的品牌形象,减缓了他们在市场上的扩张,并导致他们可能出现经营危机。因此索尼集团母公司和三个SIE欧洲子公司将被共同处以13,527,000 欧元的罚款。
TGA整合了一些将会在2024年发售的游戏,这里面有哪些是你想玩的呢。

· 1月18日《波斯王子:失落的王冠》
· 1月19日《最后生还者 第二部》复刻版
· 1月26日《如龙8》《铁拳8》
· 1月29日《碧蓝幻想:Relink》
· 2月2日《女神异闻录3:Reload》《自杀小队:战胜正义联盟》
· 2月8日《地狱潜者2》
· 2月13日《驱灵者:新伊甸的幽灵》
· 2月16日《马力欧VS咚奇刚》《碧海黑帆》
· 2月22日《夜莺传说》
· 2月29日《最终幻想7:重生》
· 3月5日《逃生:试炼》
· 3月8日《家园3》
· 3月20日《鬼屋魔影》
· 3月22日《龙的信条2》《碧姬公主:表演时刻》《浪人崛起》
· 3月26日《南方公园:下雪天》
· 4月23日《Tales of Kenzera:Zau》
· 4月30日《时空幻境:周年版》
· 6月4日《命运2:终焉之形》
· 8月20日《黑神话:悟空》
· 9月9日《战锤40K:星际战士2》
据外媒Areajugones消息,初版《合金装备》的重制版正在制作中,这个项目已经开发了好几年。并表示科乐美将会在制作完《合金装备Δ食蛇者》之后全力开发该项目,由PS5独占。
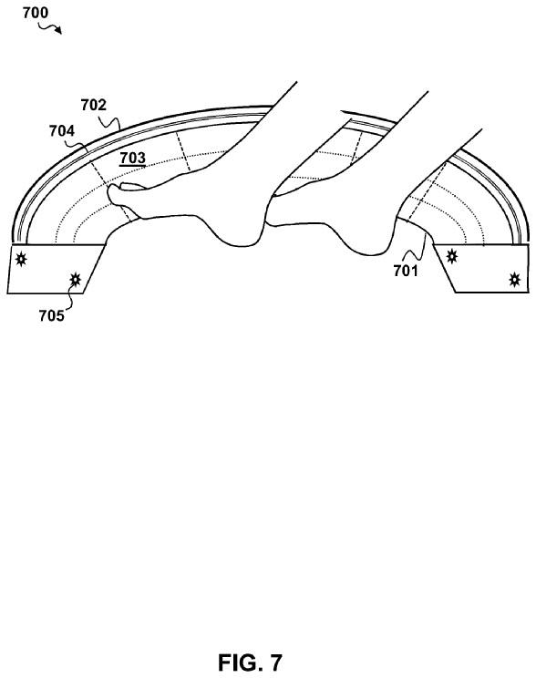
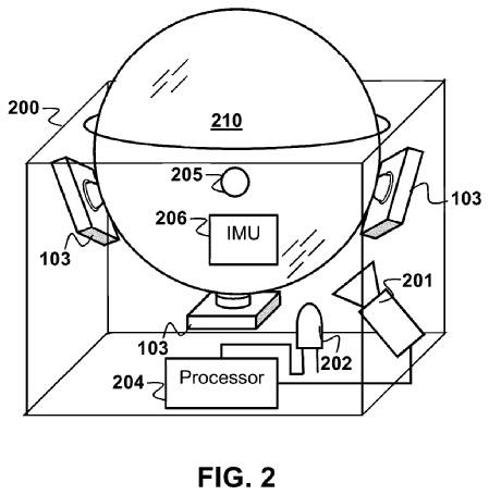
索尼近日发布了两款用脚操控 AR/VR 控制器的专利,第一个是球体控制器,每个球下方有三个或更多轴承支持,可以在至少两个方向上旋转。第二个是向上弯曲的半圆形碗状脚踏控制器,带有临近感测功能。两款设备均适用嵌入式系统、移动端、PC等设备。 ​​​
Back to Top