「Play Has No Limits」
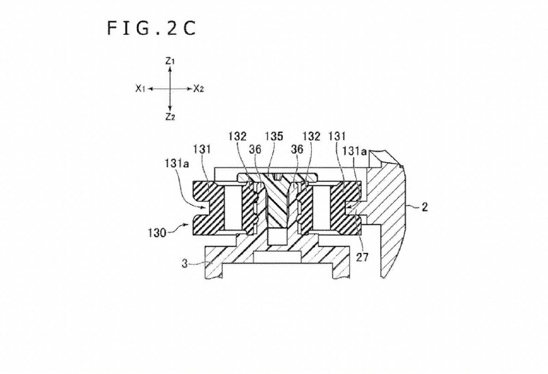
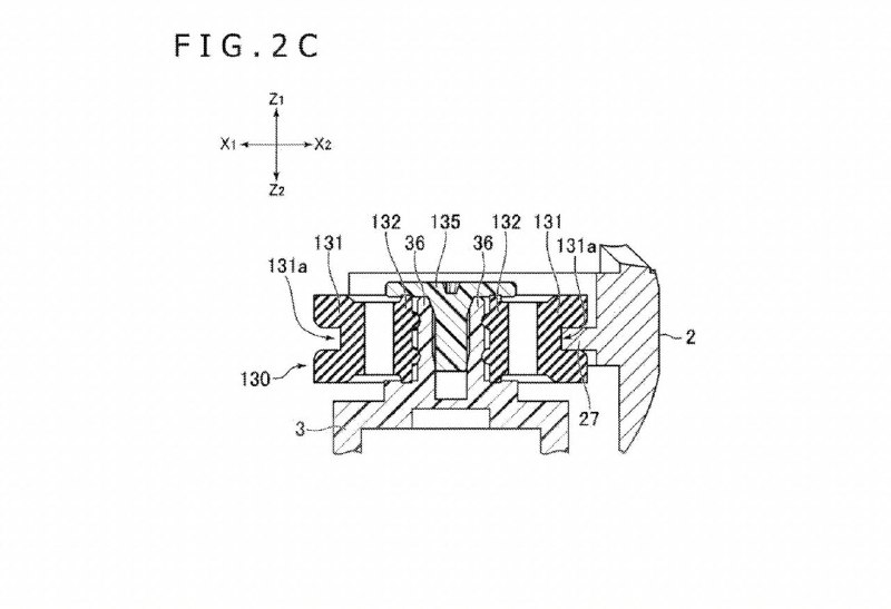
据外媒segmentnext报道,索尼在多年前注册的一项专利于近日对外公开,其中提到了某种可安装在多种电子设备上的外置光驱,或许跟传闻中的可拆卸光驱新型号PS5有关。

据专利文件透露,这种外置光驱能够应用在游戏机、个人电脑或视听播放器等电子设备。所用零件数量更少,还加入了防震动的解决方案。虽然专利本身并未明确指向这个光驱与PS5有关,但外形设计似乎与PS5光驱部分的形状有些相似。

截至目前,可拆卸光驱版新型PS5仍是一个传闻,曾有报道称这个新机型预计在今年9月发售,具体如何还需等待来自官方的正式消息。

🔗
Furyu宣布,原定于7月6日发售的动作RPG新作《恸哭奇机 | CRYMACHINA》为提升品质将延期至7月27日上市,游戏登陆PS5/PS4/Switch平台,中文版预定与日版同步推出。
Insider Gaming今日发文称,From Software新作《装甲核心6 境界天火》将于今年6月的夏季游戏展上公开发售日,8月25日正式推出。

《装甲核心6》近期频繁出现,已经在韩国通过评级,并且泄露了主视觉图。国内舅舅“电动浪客鲁迅”曾暗示游戏会在4月28日有新情报。

本作由《只狼:影逝二度》首席游戏策划师山村勝担任总监,宫崎英高提供概念指导,将专注于机甲定制和单人玩法,以任务为基础推进,Boss战等内容是本作的亮点。

《装甲核心6》将于2023年内登陆PS5、PS4、XSX|S、Xbox One与PC,具体发售时间有待官方正式公开。
billbil-kun 近日爆料《F1 23》预计将在6月13-20日之间发售,相关消息会在不到一周内公布。本作曾在今年3月首次公开,由Codemasters开发,将登陆PS5、PS4、XSX|S、Xbox One与PC平台。 ​ 🔗 billbil-kun (@billbil_kun)
据推主Zuby_Tech统计,在收购了Firewalk工作室之后,索尼PlayStation目前拥有全球 24 个工作室、6 个子公司 、6 个游戏开发合作伙伴。 ​​​
🎮
益智动作游戏《Humanity》将于5月16日推出,PlayStation制作了一段以柴犬为主角,致敬PS1、PS2时代经典广告风格的宣传片。本作将登陆PS5、PS4、PS VR、PS VR2、PC。首发加入PS+ 5月游戏阵容,以及二三档会员。 ​​​ 🔗
🎮 宣布将Firewalk Studios纳入其工作室体系。Firewalk目前正在为PlayStation开发第一款原创3A多人游戏。PlayStation认为Firewalk的技术和创意将为PlayStation Studios的服务运营注入新血,打造出一款令人期待的新游戏。而Firewalk团队则表示荣幸能够加入PlayStation Studios这个拥有众多知名游戏的家族,并将继续致力于创造优秀的游戏体验。

补充说明:
PlayStation与Firewalk Studios早在2021年就已官宣正在合作制作一款原创IP多人游戏。此前曾有爆料称消息该作品有望在2024年与玩家见面。

Firewalk Studios是一家次世代3A工作室,团队阵容包括多名富有经验的业界人员,例如游戏总监Ryan Ellis曾经是《命运》的艺术总监、执行制作人Elena Siegman曾是《吉他英雄2》、《生化奇兵 无限》、《命运》的制作人,团队中其他开发者也曾参与过《质量效应》、《Apex英雄》、《COD》等游戏的开发。 🔗 Welcoming Firewalk Studios to the PlayStation Studios family
《街头霸王6》体验版现已在PS5/PS4平台推出,XSX|S与PC试玩版之后会在4月26日发布。本次试玩版的游玩内容包含“环球游历”模式的开头部分以及开放部分模式的“斗技战场”模式,玩家自创角色支持继承至正式版。游戏将于6月2日发售,登陆PS5、PS4、XSX|S与PC,支持中文。 ​​​
🔗
#系统更新
PS5现已上线7.2版本系统更新,此次更新大小为1.15G。一如既往的“提高系统表现以及稳定性”。更新日志如下:

提高系统表现以及稳定性、改进了某些屏幕上的信息显示和可用性、更新了DualSense Edge的软件版本,提高稳定性。 ​​​
《暗黑破坏神4》宣布已经开发完成,准备进厂压盘,将于6月6日准时登陆。
第一人称动作冒险游戏《死亡岛2》登陆宣传片公开,本作将于4月21日登陆PS5/PS4平台。在丧尸病毒爆发的几个月后,整个世界都陷入了这场末日之中。而你身为拥有免疫体质的幸存者,又该如何活下去?
Media is too big
VIEW IN TELEGRAM
华纳公开多人游戏《哈利波特:魁地奇冠军》,预计登陆主机与PC平台,目前开放测试版申请,正式发售日未定。

https://quidditchchampions.wbgames.com/en
《最终幻想16》特辑“State of Play”如期播出,吉田直树制作人出场,介绍了游戏的故事、世界和战斗系统,并和大家分享了游戏中各式各样的角色扮演游戏元素。
故事的主角是克莱夫·罗斯菲尔德,他的旅程将在一个名为瓦莱瑟亚的国度中展开。游戏会逐步揭开我们主角在人生三个不同时期的故事,分别是少年期、青年期和壮年期,虽然游戏剧情是从克莱夫二十几岁时展开,但可完整游玩的回忆环节能让玩家体验形塑他过去和现在的关键事件。
🔗
据Reddit网友反馈,近期在领取PS+会免游戏后未收到索尼官方发送的确认邮件,在评论区也有不少玩家指出,以往包括领取DLC都会收到“您的PlayStation Store交易已成功”的确认邮件,如今不发送等于无法获取相应的“兑换凭证”,目前官方尚未对此作出回应。
🎮 #出库 #最后的游戏机会
以下游戏将于5月15日离库:

《漫威蜘蛛佒》
《生化危机》
《NBA 2K 欢乐竞技场 2》
《横冲直撞4:癫狂》
《死光 导演剪辑版》
《国土防线:变革》
《神力9号》
《红色派系:游击战 重制版》
《莎木3》
《这是我的战争 孩子们》
《地铁 最后的曙光》
《地铁 2033 Redux》
《天国拯救》
《陆行鸟和不可思议迷宫 Every Buddv》
《Left Alive》
《星之海洋 初次启程R》
《巴兰的异想奇境》
《生存指南 暴风警告版》
《像素海盗》
《六月衷曲》
《维吉尼亚》
《梦陨新章》
《曼岛丁T赛事 边缘竞速2》
《究极大越野 全力以赴》
《环法自行车赛2021》
《守墓人》
《Kona》
《瑞利达》
《逆风停航》
《克罗诺斯 灰烬之前》
《开拓者 拥王者决定版》
Back to Top