「Play Has No Limits」
《邪恶冥刻》PS5/PS4版宣传片公开,即将推出。本作是一款画风阴暗的卡牌主题高难度游戏,融合了Roguelike牌组构建、密室逃脱以及心理恐怖元素,为玩家呈现一场鲜血点缀的精彩盛宴。更黑暗的是卡牌背后写下的秘密
https://youtu.be/uAn7OxLub9Y
#系统更新
PS5 在今日迎来了新的系统更新,版本号 22.01-05.50.00。本次更新主要是为 ALLM(自动低延迟模式)功能加入了相应的设置开关,针对支持 ALLM 的电视玩家现在可以在设定-屏幕和视频-视频影像输出-ALLM 中调整相应的设置,可以自选为「自动」或「关闭」。本次更新的大小为 1.061 GB。 ​​​
《黑客帝国觉醒:虚幻引擎5体验》将于7月9日下线PS5/Xbox Series X|S平台,想要体验的玩家请尽快下载。
SE夜光组ARPG《Forspoken》再次延期至2023年1月24日发售,本作将登陆PS5与PC平台,支持中文。官方表示延期原因是与“关键合作伙伴”协商后的结果,游戏开发已经完成,现在处于最后打磨阶段,更多关于这款游戏的消息将于今年夏季晚些时候公开。 ​​​
《战神 诸神黄昏》宣布将于今年11月9日发售!
SIE Guerrilla工作室宣布《地平线 西之绝境》1.17版本更新现已推送,主要为PS5版添加了VRR(可变刷新率)与HFR(高刷新率)支持。开启VRR后,60Hz显示模式下的动态分辨率将得到改善,在120Hz模式下支持以更高帧数运行,还将添加新的画面显示选项“平衡模式”(40帧模式)。 ​​​
PS商城今日开启「七月优惠」活动,包括《生化危机7&生化危机村庄 组合包》《刺客信条:奥德赛》《怪物猎人世界》等近千款游戏参与其中,活动7月20日截止。
🔗
PSN 日服似乎提前泄露了《北欧女神 极乐世界》(Valkyrie Elysium)的确切发售日期。根据页面显示,本作将于 2022 年 9 月 29 日在 PS5/PS4 平台正式推出。此前游戏已经在北美、韩国等地区通过游戏评级,但目前 SE 官方尚未正式公布游戏的确切发售日期。
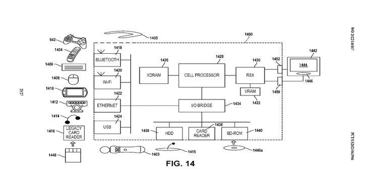
Game Rant公开了一项PlayStation最近申请的专利,根据专利图的示意,索尼似乎正在尝试让一些老的设备能够在PS5上使用,例如PSP GO、DualShock 3、EYETOY等,更多详情尚未公布。
茶杯头 DLC 预计北京时间今晚 9 点上线。 ​​​

*售价为7.99 USD / 9.99 CAD / €7.99 / £6.79
#会免 #港服
2022年7月港服会免现已公布:

PS4/PS5 | 「古惑狼4:时机已到」
PS4/PS5 | 「Arcadegeddon」
PS4/PS5 |「Zero Strain」
PS4 | 「黑相集:棉兰号」


领取时间为7月5日至8月1日。
#会免 #欧美服
2022年7月欧美服会免现已公布:

PS4/PS5 | 「古惑狼4:时机已到」
PS4 | 「黑相集:棉兰号」
PS4/PS5 |「Arcadegeddon」

领取时间为2022年7月5日至8月1日。
《F1 22》发售宣传片公开,7月1日登陆PS5、PS4、XSX|S、Xbox One、PC,购买“冠军版”可提前三天抢先体验。本作由 Codemasters开发,包含全新的混合动力车款、全新“自适应 AI”、全新游戏内容“F1人生”,以及《F1》冲刺赛、迈阿密大奖赛、世界锦标赛等玩法,还有“我的车队”等功能回归。
Media is too big
VIEW IN TELEGRAM
索尼今日正式公开了两款显示器与三款耳机,主要面向电竞与PS5玩家。五款产品同属新品牌“Inzone”旗下,具体产品型号与主要特性如下:

Inzone M9显示器

· 27寸、4K分辨率、144Hz
· 600尼特亮度
· HDR 600
· 直下式LED、IPS面板、1ms响应时间
· VRR、垂直同步、Perfect for PS5(HDR自动映射、内容自适应图像模式)
· HDMI 2.1(两个)、DP 1.4、USB接口(三个)
· 内置扬声器
· 售价899美元

Inzone M3显示器

· 27寸、1080P分辨率、240Hz
· 400尼特亮度
· HDR 400
· IPS面板、1ms响应时间
· VRR、垂直同步、Perfect for PS5(HDR自动映射、内容自适应图像模式)
· HDMI 2.1(两个)、DP 1.4、USB接口(三个)
· 内置扬声器
· 售价529美元

Inzone H9耳机

· 支持2.4GHz无线与蓝牙同时连接
· 降噪功能
· 360度环绕音/3D音效(对应PS5平台)
· Discord认证Boom麦克风
· LED灯
· 柔软贴合皮革耳垫
· 支持快充,充满一次电后,提供最长32小时的续航时间
· 售价299美元

Inzone H7耳机

· 支持无线
· 360度环绕音/3D音效(对应PS5平台)
· Discord认证Boom麦克风
· 支持快充,充满一次电后,提供最长40小时的续航时间
· 售价229美元

Inzone H3耳机

· 有线耳机
· 360度环绕音/3D音效(对应PS5平台)
· Discord认证Boom麦克风
· 售价99美元

https://youtu.be/kmx2vLE0Uo0
《蜡笔小新 我与博士的暑假 ~ 永不结束的七日之旅》官方宣布将推出PS4版,预计将于8月发售。本作由《我的暑假》系列监督「绫部和」参与制作,玩家将和野原一家来到熊本县,和小新一起钓鱼、捕虫,享受为期一周的乡村生活。 ​​​
Back to Top