「Play Has No Limits」
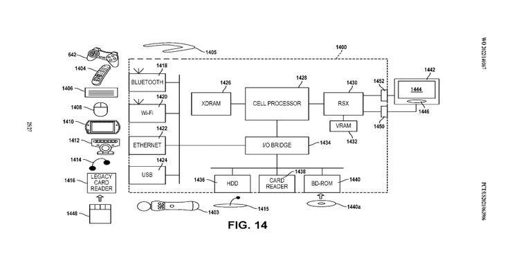
Game Rant公开了一项PlayStation最近申请的专利,根据专利图的示意,索尼似乎正在尝试让一些老的设备能够在PS5上使用,例如PSP GO、DualShock 3、EYETOY等,更多详情尚未公布。
茶杯头 DLC 预计北京时间今晚 9 点上线。 ​​​

*售价为7.99 USD / 9.99 CAD / €7.99 / £6.79
#会免 #港服
2022年7月港服会免现已公布:

PS4/PS5 | 「古惑狼4:时机已到」
PS4/PS5 | 「Arcadegeddon」
PS4/PS5 |「Zero Strain」
PS4 | 「黑相集:棉兰号」


领取时间为7月5日至8月1日。
#会免 #欧美服
2022年7月欧美服会免现已公布:

PS4/PS5 | 「古惑狼4:时机已到」
PS4 | 「黑相集:棉兰号」
PS4/PS5 |「Arcadegeddon」

领取时间为2022年7月5日至8月1日。
《F1 22》发售宣传片公开,7月1日登陆PS5、PS4、XSX|S、Xbox One、PC,购买“冠军版”可提前三天抢先体验。本作由 Codemasters开发,包含全新的混合动力车款、全新“自适应 AI”、全新游戏内容“F1人生”,以及《F1》冲刺赛、迈阿密大奖赛、世界锦标赛等玩法,还有“我的车队”等功能回归。
Media is too big
VIEW IN TELEGRAM
索尼今日正式公开了两款显示器与三款耳机,主要面向电竞与PS5玩家。五款产品同属新品牌“Inzone”旗下,具体产品型号与主要特性如下:

Inzone M9显示器

· 27寸、4K分辨率、144Hz
· 600尼特亮度
· HDR 600
· 直下式LED、IPS面板、1ms响应时间
· VRR、垂直同步、Perfect for PS5(HDR自动映射、内容自适应图像模式)
· HDMI 2.1(两个)、DP 1.4、USB接口(三个)
· 内置扬声器
· 售价899美元

Inzone M3显示器

· 27寸、1080P分辨率、240Hz
· 400尼特亮度
· HDR 400
· IPS面板、1ms响应时间
· VRR、垂直同步、Perfect for PS5(HDR自动映射、内容自适应图像模式)
· HDMI 2.1(两个)、DP 1.4、USB接口(三个)
· 内置扬声器
· 售价529美元

Inzone H9耳机

· 支持2.4GHz无线与蓝牙同时连接
· 降噪功能
· 360度环绕音/3D音效(对应PS5平台)
· Discord认证Boom麦克风
· LED灯
· 柔软贴合皮革耳垫
· 支持快充,充满一次电后,提供最长32小时的续航时间
· 售价299美元

Inzone H7耳机

· 支持无线
· 360度环绕音/3D音效(对应PS5平台)
· Discord认证Boom麦克风
· 支持快充,充满一次电后,提供最长40小时的续航时间
· 售价229美元

Inzone H3耳机

· 有线耳机
· 360度环绕音/3D音效(对应PS5平台)
· Discord认证Boom麦克风
· 售价99美元

https://youtu.be/kmx2vLE0Uo0
《蜡笔小新 我与博士的暑假 ~ 永不结束的七日之旅》官方宣布将推出PS4版,预计将于8月发售。本作由《我的暑假》系列监督「绫部和」参与制作,玩家将和野原一家来到熊本县,和小新一起钓鱼、捕虫,享受为期一周的乡村生活。 ​​​
#会免泄露
喜闻乐见的会免泄露又来了,据billbil-kun提前泄露2022年7月PS+欧美服会免游戏阵容分别是:

PS4「黑相集:棉兰号」
PS5/PS4「Arcadegeddon」
PS5/PS4「古惑狼4:时机已到」
#传闻
Reddit玩家slimane406晒出了一张法国PlayStation Plus的Premium档介绍页面的截图,该截图使用了去年发售的PS5《瑞奇与叮当 时空跳转》的截图,或许代表这款作品将加入PS Plus订阅库或是将提供3小时试玩。
小岛工作室发博表示:所有完成PS5版 死亡搁浅导演剪辑版 主线剧情的用户都将得到一枚特别的桌面背景和PSN头像,可以在邮箱中进行领取。PS4版无法参加此项活动,但是可以把PS4的存档转移到PS5参加。 ​​​
据外媒Eurogamer报道,目前在欧美地区的PSN商店,新版PS+游戏库界面中已出现了“最后游玩机会”(Last Chance To Play)的离库提示列表,目前其中只有《影子武士3》《塞伯利亚之谜》两款游戏。此外,还有一些游戏虽然没有在“最后游玩机会”列表中,但页面也已经出现了离库时间,目前已知存在离库时间提醒的游戏包括有:
《影子武士3》7月5日
《塞伯利亚之谜》7月19日
《NBA:2K22》8月31日
《WRC:10》8月31日
《荒野大镖客2》9月20日
《荒野大镖客》10月17日
《荒野大镖客:亡灵梦魇》10月17日

https://www.eurogamer.net/some-ps-plus-games-already-have-an-expiration-date
「GT赛车7」1.17更新现已推送,此次更新带来了“沃特金斯峡谷国际赛道”以及三款新车,分别为:
Suzuki V6 Escudo Pikes Peak Special ’98
Suzuki Vision Gran Turismo(Gr.3 Version)
1932 Ford Roadster。
SEGA旗下Creative Assembly新作《鬣狗 | Hyenas》发表,将登陆PS5、PS4、XSX|S、Xbox One、PC。以下为游戏详情:

·这是一款PvEvP的射击游戏,玩家将扮演星际海盗劫掠亿万富翁们殖民的火星,从宇宙飞船上盗取宝物。

·每局15名玩家分成5队,每队3人,最终由盗取宝物的数量决定胜负。

·玩家需要和AI控制的警卫作战。地图的某些部分为零重力区域,可以四处飘浮或者借助磁力靴稳住身形。

·开发组表示这不是一款大逃杀游戏,地图会比大逃杀游戏更小,不过也从《堡垒之夜》《使命召唤 战区》等作品中吸收了灵感。

·游戏角色分为三个类型:“交战”型偏向于战斗;“闪避”型移动迅速并能偶尔隐身;“开拓”型是黑客或支援角色。
Media is too big
VIEW IN TELEGRAM
PS商城今日开启「年中优惠」活动。🔗这里筛选了部分折扣游戏供各位参考:

《盐与献祭》,折后103.6港币,首次打折(约合人民币89元)
《彩虹六号:异种》 - 豪华版,折后194港币,平史低(约合人民币165元)
《死亡循环》 - 豪华版,折后255.2港币,新史低(约合人民币218元)
《食人大鹫(最后的守护者)》,折后77港币,平史低(约合人民币66元)
《血源诅咒》 - 老猎人版,折后107.2港币,非史低(约合人民币91元)
《黄泉之路》,折后111港币,首次打折(约合人民币95元)
《胡闹搬家》,折后48.25港币,平史低(约合人民币41元)
#传闻
Tom Henderson爆料,索尼或许会在月底举办一场State Of Play,内容将会包括《GT赛车7》《战神:诸神黄昏》以及一批新硬件消息。

「INZONE H」系列耳机,其中包括 :INZONE H3,有线360度空间高音质,售价99美元;INZONE H7,无线360度空间高音质,售价199美元;INZONE H9,无线高音质且降噪,售价299美元。

此外预计还会推出两款专门针对PS5设计的INZONE显示器,除了有HDR自动色调映射和特殊图像模式等辅助功能外,据悉为了完美契合游戏体验显示器不仅延迟低并且还带有亮度均衡器,两款显示器分别支持4K/144Hz,HDR600以及1080p/240Hz,HDR400。
《最终幻想7》25周年纪念发布会全程视频。本次发布会上公开了以下消息:

1、《最终幻想7 重制版 间奏》Steam版今日推出

2、手游《最终幻想7 Ever Crisis》和《最终幻想7 First Soldier》新宣传片

3、《最终幻想7 核心危机 Reunion》高清复刻版发表,冬季登陆PS5/PS4/XSX|S/Xbox One/Switch/PC

4、《最终幻想7 重制版》第二部首段宣传片,副标题为“重生”(Rebirth),将于2023年冬季登陆PS5平台。重制版还将推出第三部完结篇
#传闻
Tom Henderson爆料称,索尼正在开发一款PS5 Pro手柄,该手柄代号为「Hunt」,推测将在未来几周内正式公布。Tom Henderson表示这款PS5 Pro手柄的造型会保留经典的PS5风格,但会有一些差异,同时手柄会新增可更换摇杆、可自定义调节的扳机按键、背键等功能。 ​​​
https://twitter.com/_Tom_Henderson_/status/1537104878899699716
#爆料
准确爆料近期多场发布会内容的 The Snitch 又有新的爆料。推文中贴出了一张艾莉丝、扎克斯的场景图,并配文蓝绿红黑四个色块,或暗示 PSP 游戏《最终幻想 7 核心危机》将登陆 PS/Xbox/Switch/PC 平台。目前官方暂未公布相关消息,《最终幻想 7》25 周年纪念直播将在 6 月 17 日早 6 点播出。
🔗
Back to Top