「Play Has No Limits」
TGA整合了一些将会在2024年发售的游戏,这里面有哪些是你想玩的呢。

· 1月18日《波斯王子:失落的王冠》
· 1月19日《最后生还者 第二部》复刻版
· 1月26日《如龙8》《铁拳8》
· 1月29日《碧蓝幻想:Relink》
· 2月2日《女神异闻录3:Reload》《自杀小队:战胜正义联盟》
· 2月8日《地狱潜者2》
· 2月13日《驱灵者:新伊甸的幽灵》
· 2月16日《马力欧VS咚奇刚》《碧海黑帆》
· 2月22日《夜莺传说》
· 2月29日《最终幻想7:重生》
· 3月5日《逃生:试炼》
· 3月8日《家园3》
· 3月20日《鬼屋魔影》
· 3月22日《龙的信条2》《碧姬公主:表演时刻》《浪人崛起》
· 3月26日《南方公园:下雪天》
· 4月23日《Tales of Kenzera:Zau》
· 4月30日《时空幻境:周年版》
· 6月4日《命运2:终焉之形》
· 8月20日《黑神话:悟空》
· 9月9日《战锤40K:星际战士2》
据外媒Areajugones消息,初版《合金装备》的重制版正在制作中,这个项目已经开发了好几年。并表示科乐美将会在制作完《合金装备Δ食蛇者》之后全力开发该项目,由PS5独占。
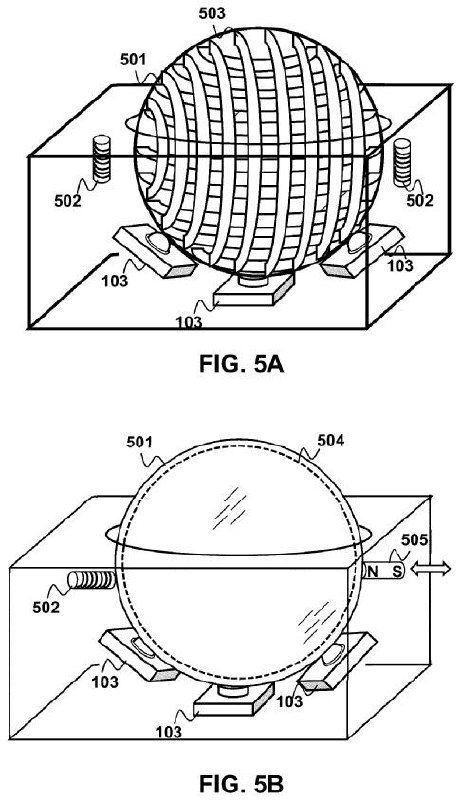
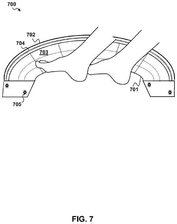
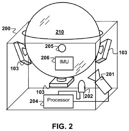
索尼近日发布了两款用脚操控 AR/VR 控制器的专利,第一个是球体控制器,每个球下方有三个或更多轴承支持,可以在至少两个方向上旋转。第二个是向上弯曲的半圆形碗状脚踏控制器,带有临近感测功能。两款设备均适用嵌入式系统、移动端、PC等设备。 ​​​
1月与PlayStation平台有关的一些值得关注的内容:

1月11日
《战地医院》

1月18日
《波斯王子:失落的王冠》

1月19日
《最后生还者第二部》复刻版

1月25日
《夜下降生 II Sys:Celes》
《逆转裁判456 王泥喜精选集》

1月26日
《铁拳8》
《如龙8》
《小小梦魇:加强版》现已通过ESRB分级,被评为“T”级,将登陆PS5/Xbox One/Xbox Series X|S/PC,拥有原版的可以免费升级。加强版相较于原版主要是增强了画面表现效果和优化关卡设计,并支持光追,以下是评级摘要:

玩家在穿越环境时,需要奔跑、跳跃、攀爬和潜行,以躲避敌人(如水蛭、大型类人生物)。被抓后通常会出现短暂的死亡场景:被腐败灵魂吞噬、水蛭勒死等。被攻击了身边会出现一滩血迹,并会出现在水池电击怪物等场景。一些环境中还出现了一具悬挂的尸体和各种血迹。
Back to Top