「Play Has No Limits」
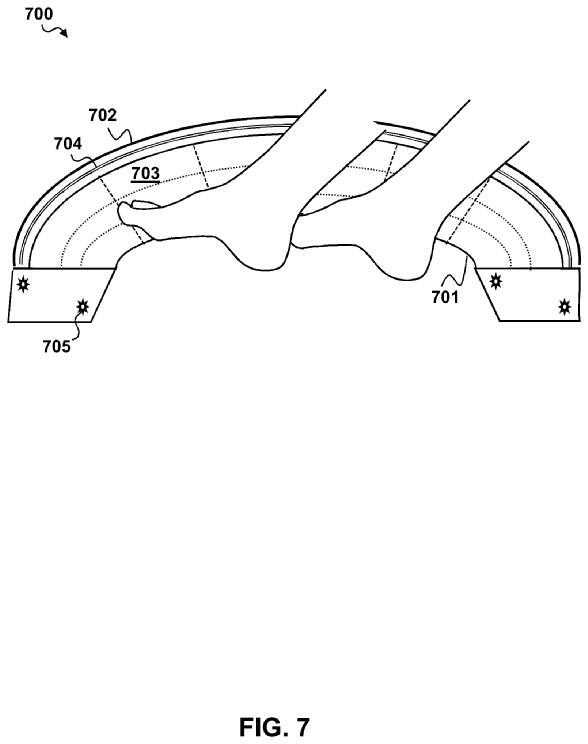
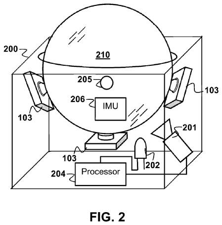
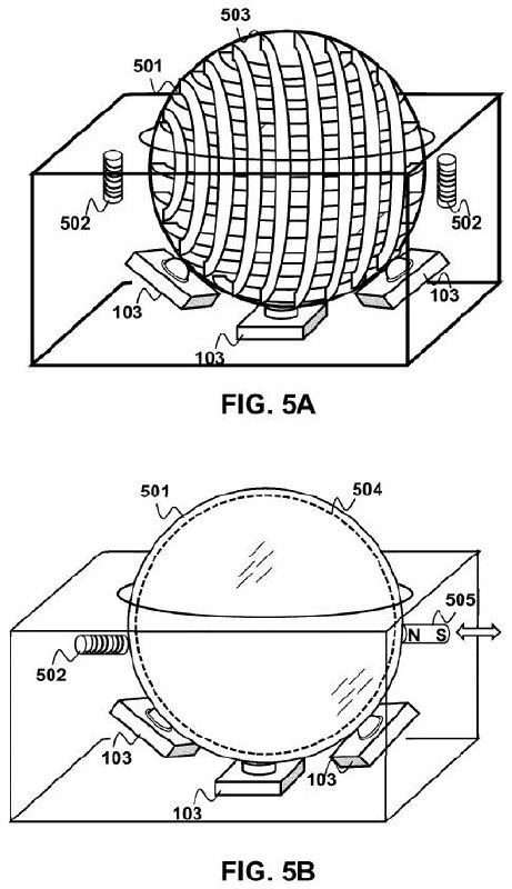
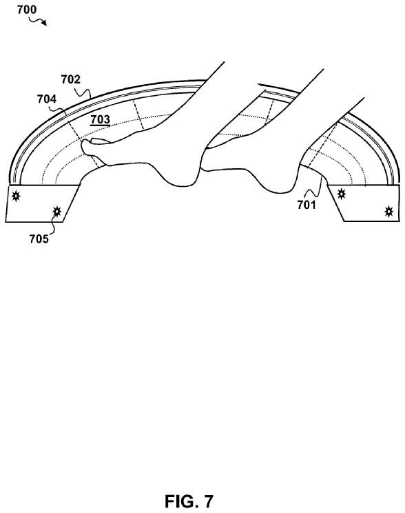
索尼近日发布了两款用脚操控 AR/VR 控制器的专利,第一个是球体控制器,每个球下方有三个或更多轴承支持,可以在至少两个方向上旋转。第二个是向上弯曲的半圆形碗状脚踏控制器,带有临近感测功能。两款设备均适用嵌入式系统、移动端、PC等设备。 ​​​
1月与PlayStation平台有关的一些值得关注的内容:

1月11日
《战地医院》

1月18日
《波斯王子:失落的王冠》

1月19日
《最后生还者第二部》复刻版

1月25日
《夜下降生 II Sys:Celes》
《逆转裁判456 王泥喜精选集》

1月26日
《铁拳8》
《如龙8》
《小小梦魇:加强版》现已通过ESRB分级,被评为“T”级,将登陆PS5/Xbox One/Xbox Series X|S/PC,拥有原版的可以免费升级。加强版相较于原版主要是增强了画面表现效果和优化关卡设计,并支持光追,以下是评级摘要:

玩家在穿越环境时,需要奔跑、跳跃、攀爬和潜行,以躲避敌人(如水蛭、大型类人生物)。被抓后通常会出现短暂的死亡场景:被腐败灵魂吞噬、水蛭勒死等。被攻击了身边会出现一滩血迹,并会出现在水池电击怪物等场景。一些环境中还出现了一具悬挂的尸体和各种血迹。
PlayStation博客显示《星刃》将于2024年登陆PS5。
这是一款以科幻末日世界为背景的单人动作RPG游戏,游戏背景设定在不久的将来,人类已到达高科技时代,但地球被类“克苏鲁”外星生物毁灭,扮演女主角Eve在衰败的地球上与遇到的队友齐心协力对抗未知的敌人。
Back to Top