「Play Has No Limits」
育碧前瞻会“Ubisoft Forward”于北京时间6月13日凌晨1点举办。以下是详情汇总

• 《阿凡达 潘多拉边境》将在2023年12月7日发售,登陆次世代主机和PC。游戏设定在世人未见的潘多拉星西部边境,你将扮演双星之子,由RDA抚养长大的纳威人。十五年后,你重获自由,却成为了家园里的外来者。重新获取你失去的传承,探索真正纳威人的意义并加入部族,抵抗RDA,守护潘多拉。

• 免费第一人称竞技场射击游戏《不羁联盟 XDefiant》将在6月21-23日开启开放测试,今年夏季晚些时候正式上线。通过跨平台游玩功能,玩家将能够随时和来自任何可用平台的好友一起游玩。

• 《波斯王子:失落的王冠》将于2024年1月18日发售。你将踏入奇幻的波斯世界,一手操控时与空的界限。扮演萨尔贡,掌握战斗技巧,解锁全新的时之力和独特技能,从挥舞刀刃的奇才成长为传奇人物。

• 《全境封锁:曙光》将于今年秋季推出,这款设定于巨大城市开放世界的第三人称RPG射击免费手游是《全境封锁》系列的最新作品,玩家将在广阔的开放世界中体验到全新的独立故事情节,在充满细节的城市环境中自由探索,并以惊人而独特的视角经历在《全境封锁》和《全境封锁2》中发生的关键性故事事件。

• 育碧原创动画《Captain Laserhawk:A Blood Dragon Remix》将于今年秋季在Netflix上播出。动画融合了多位育碧角色,参考了很多90年代早期的元素。

• 《碧海黑帆》船歌宣传片公开,封测将于2023年8月25日至8月28日开放。

• 《极限国度》额外内容滑板运动将于2023年9月26日对所有玩家开放。滑板成为了加入《极限国度》这个多元化、多运动场地的最新运动项目。

• 《冠军冲刺》全新联动活动将为游戏带来SEGA备受喜爱的Jet Set Radio系列的角色,活动将从6月27日持续到7月14日。“Beat”和“Gum”这两位该系列的经典人物将以可玩超级巨星的身份加入《冠军冲刺》。此外,轮滑公园将进行全面改造,进行定制化设计以致敬Jet Set Radio中著名的巴士站。

• 《飙酷车神:轰鸣盛典》将于 2023 年 9 月 14 日发售。游戏舞台将来到夏威夷群岛中的瓦胡岛。

• 将于今年底发布的《刺客信条:联结核心》是该系列的首款3A VR游戏。玩家将在其中扮演传奇的大师级刺客,并在成熟完整的游戏中亲身体验那些经典动作。该游戏将在Meta Quest平台上推出,其中包括Meta Quest 2、Meta Quest 3和Meta Quest Pro。《刺客信条:联结核心》中将提供数名粉丝最喜欢可玩角色,包括意大利文艺复兴时期的艾吉奥·奥迪托雷·达·佛罗伦萨、古希腊的卡珊德拉以及殖民时期美国的康纳,并以VR玩法重新构建全新的故事。

• 手机游戏《刺客信条:代号JADE》现已开启内测预约。玩家将进入设定于公元前3世纪中国古代的庞大开放世界中,其中囊括了刺客信条的标志性玩法,包括探索、跑酷、战斗以及刺杀。

• 《刺客信条:幻景》是对刺客信条系列的致敬,尤其是对初代《刺客信条》的致敬。游戏将邀请玩家来到公元9世纪感受正值黄金时代顶峰的巴格达。《刺客信条》系列已经定义了超过15年的跑酷、潜行和刺杀的玩法元素,而《刺客信条:幻景》将运用现代化的游戏设计手法提供了一种浓缩的、叙事驱动的动作冒险游戏体验。本作将于2023年10月12日发售。

• 开放世界星战游戏《星球大战:亡命徒》实机演示内容公开,该游戏将于2024年登陆Xbox Series X|S、PS5以及PC平台(育碧商城)。进入有史以来第一部开放世界《星球大战》游戏,体验发生在《帝国反击战》和《绝地归来》之间的全新故事。银河系中诸多或是经典,或是全新的星球等待着你的探索。你将扮演凯·维斯——一名刚刚崭露头角的恶棍——并与好搭档尼克斯一起,在凶险的宇宙中寻求自由,设法开启全新的生活。你可以通过战斗、偷窃或是智取,在银河系当中的各大犯罪集团间自由周旋,并登上银河帝国系的最高通缉名单。

·《玛利欧 + 疯狂兔子 希望之星》最终弹雷曼DLC将于2023推出

·年货《舞力全开2024》(Just Dance 2024)将于2023.10.24推出
PlayStation 新闻转发
Capcom Showcase 2023将于北京时间6月13日早上6点举办,节目时长约36分钟
Capcom Showcase 2023.6.13于今日播出,以下是详情汇总。

• 《祇: 女神之道》(暂译)游戏平台为XSX|S、PC、PS5,首发加入Xbox Game Pass。
在众神居住的山上,人们因罪孽被玷上污秽,而「畏哭」则因污秽而来。为了驱除「畏哭」并封印污秽,带领巫女前往神社吧。透过RE ENGINE打造出细腻而独创的和式画面,兼具战略性和动作性的游戏体验,编织了魑魅魍魉和人们的传承画卷。今天公开的最新宣传影片中,可以一窥本作独有的世界观和玩法。


• 《洛克人 X Dive 单机版》将于2023年内登陆Steam、iOS与安卓平台,可操作和培养的角色超过100名。


• 《街头霸王6》火热销售中,今后的更新计划如图。此外,Capcom Pro Tour 2023为第一名设置的奖金为100万美元,奖金总额超过200万美元,是迄今为止最高的奖金额度,巡回赛将于今年8月开幕,历时一年。

• 《PRAGMATA》最新宣传片放出,游戏再度延期,发售日从原定的2023年改为了待定。


• 《幽灵诡计 幻影侦探》今日推出试玩版,可以游玩游戏开篇部分,进度可继承到正式版游戏中。此外还有来自逆转裁判系列作者、原作总监巧舟的信息及游戏教学影片。本作将于6月30日在NS、PS4、XB1、PC上推出,支持中文。

• 《逆转裁判456 王泥喜精选集》发表,将于2024年初发售,支持中文。描绘了新人律师王泥喜法介的成长故事和法律的黑暗时代的这三部作品,即将在NS、PS4、XB1、PC上复活。此外,截至2023年3月31日,「逆转裁判」系列全球销量累计突破1,000万套。

• 《原始袭变 Exoprimal》动力装甲宣传视频放出,本作将会举行第2回公开测试,时间为6月16日8:00-6月19日7:59,Xbox、PS、PC版均会进行测试。

• 《龙之信条2》制作人伊津野英昭公布了一些本作的信息。玩家能够与AI控制的三名队友组成四人小队一起冒险,AI控制的追随者将比前作更智能,会根据自己的判断和玩家并肩作战。本作通过RE ENGINE描绘出了一个精彩纷呈且细节密度极高的世界,地图大小约为前作四倍。这款游戏预计登陆PS5、XSX|S与PC平台。

• 最后,为了庆祝CAPCOM成立40周年,目前CAPCOM主要系列作品组成的限时合集正在Steam上销售。多款游戏作品正以优惠价进行促销,详情请在各线上商店或CAPCOM促销页面查看。
《最终幻想16》试玩版将于北京时间6月12日下午16:00点上架PSN商城,可体验内容包括游戏序章约2-2.5小时的内容,存档能够继承至正式版。

​​​当玩家打通一次试玩版后,回到主菜单能够解锁新内容,在新解锁的“战斗体验版”中,玩家能够先行体验游戏后续的召唤兽能力,场景为某个要塞,这个部分的存档不会继承到正式版。官方称这个场景估计是游戏里“最暗的一个场景”,但玩家实际玩起来的感观可能不会觉得过于昏暗。
《铁拳8》封闭网络测试即日起至6月27日接受报名,PS5版于7月21-24日率先测试,然后7月28-31日在PS5、XSX|S、Steam平台测试。 ​​​
https://beta.bandainamcoent.eu/en/cb/tekken-8-closed-network-test
《漫威蜘蛛侠2》官宣将于10月20日登录PS5,但本次没有公开新预告。

游戏将在6月16日开启预购,预购任何版本都可提前解锁蜘蛛骑士套、暗影蜘蛛侠套(各包含3个变色款)和三个技能点。数字豪华版额外可获得10套服装、照片模式相框和贴纸以及2个技能点。限量珍藏版在此基础上还额外包含铁盒、 19 英寸雕像以及数字版游戏。 ​
标准版69.99 USD
数字豪华版79.99 USD
限量珍藏版229.99 USD
🔗
夏日游戏节 2023 发布会重点汇总

◆《最终幻想 7 新生》2024 年年初发售,包含两张 PS5 光盘
◆《索尼克》系列新作《索尼克:超级明星》公布,经典玩法全新画面,今秋发售
◆《匹诺曹谎言》发售日确定为 9 月 19 日
◆ 鸟山明《沙漠大冒险》改编游戏正式公开
◆《真人快打 1》实机预告,同样 9 月 19 日发售
◆《流放之路 2》实机短片公布,更多内容 7 月 28 日揭晓
◆《街头霸王 6》将在今年秋季推出《原始袭变》联动,隆与古烈机械化皮肤登场
◆《猎魔人》剧集第三季预告公开,6 月 29 日上网飞 微博正文
◆ 聚会型游戏《动物派对》发售日定为 9 月 20 日,平台 Steam/Xbox,首发 XGP
◆《崩坏:星穹铁道》今年第四季度登陆 PS5
◆《战锤 40K:星际战士 2》合作模式宣传片公开,今年秋季发售
◆ 打僵尸题材新作《剧毒敢死队》公开,2024 年推出
◆ 《漫威蜘蛛侠 2》发售日为 10 月 20 日
◆《遗迹 2》本地联机预告片,7 月 25 日上架 Steam/Epic/PS5/XS
◆《心灵杀手 2》公布实机预告,10 月 17 日发售
◆《如龙 7 外传:无名之龙》新宣传片公布,11 月 9 日上线
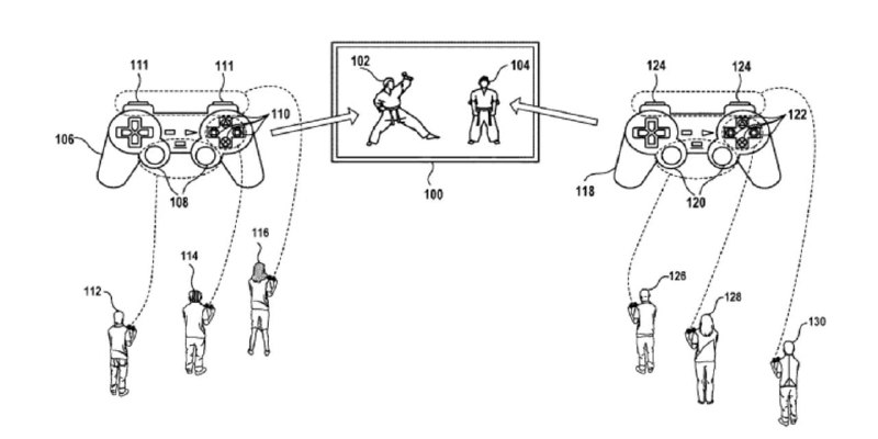
据外媒报道,索尼公开了一项有关PlayStation的专利,这项专利将可以让玩家通过云游戏服务来共享一个手柄,例如让不同的玩家来控制摇杆、按键和扳机键,从而能构建出一些新玩法。
PS商城今日开启「PlayStation Indies」活动,本次优惠活动约有866款游戏内容参与打折,其中《茶杯头》《胡闹厨房:全都好吃》《邪恶冥刻》《咩咩启示录》等各种独立游戏参与折扣,6月21日截止,感兴趣的玩家可以前往优惠页面查看。另外「Days of Play」特卖也仍在进行中,6月12日截止。
Back to Top