「Play Has No Limits」
《最终幻想16》试玩版将于北京时间6月12日下午16:00点上架PSN商城,可体验内容包括游戏序章约2-2.5小时的内容,存档能够继承至正式版。

​​​当玩家打通一次试玩版后,回到主菜单能够解锁新内容,在新解锁的“战斗体验版”中,玩家能够先行体验游戏后续的召唤兽能力,场景为某个要塞,这个部分的存档不会继承到正式版。官方称这个场景估计是游戏里“最暗的一个场景”,但玩家实际玩起来的感观可能不会觉得过于昏暗。
《铁拳8》封闭网络测试即日起至6月27日接受报名,PS5版于7月21-24日率先测试,然后7月28-31日在PS5、XSX|S、Steam平台测试。 ​​​
https://beta.bandainamcoent.eu/en/cb/tekken-8-closed-network-test
《漫威蜘蛛侠2》官宣将于10月20日登录PS5,但本次没有公开新预告。

游戏将在6月16日开启预购,预购任何版本都可提前解锁蜘蛛骑士套、暗影蜘蛛侠套(各包含3个变色款)和三个技能点。数字豪华版额外可获得10套服装、照片模式相框和贴纸以及2个技能点。限量珍藏版在此基础上还额外包含铁盒、 19 英寸雕像以及数字版游戏。 ​
标准版69.99 USD
数字豪华版79.99 USD
限量珍藏版229.99 USD
🔗
夏日游戏节 2023 发布会重点汇总

◆《最终幻想 7 新生》2024 年年初发售,包含两张 PS5 光盘
◆《索尼克》系列新作《索尼克:超级明星》公布,经典玩法全新画面,今秋发售
◆《匹诺曹谎言》发售日确定为 9 月 19 日
◆ 鸟山明《沙漠大冒险》改编游戏正式公开
◆《真人快打 1》实机预告,同样 9 月 19 日发售
◆《流放之路 2》实机短片公布,更多内容 7 月 28 日揭晓
◆《街头霸王 6》将在今年秋季推出《原始袭变》联动,隆与古烈机械化皮肤登场
◆《猎魔人》剧集第三季预告公开,6 月 29 日上网飞 微博正文
◆ 聚会型游戏《动物派对》发售日定为 9 月 20 日,平台 Steam/Xbox,首发 XGP
◆《崩坏:星穹铁道》今年第四季度登陆 PS5
◆《战锤 40K:星际战士 2》合作模式宣传片公开,今年秋季发售
◆ 打僵尸题材新作《剧毒敢死队》公开,2024 年推出
◆ 《漫威蜘蛛侠 2》发售日为 10 月 20 日
◆《遗迹 2》本地联机预告片,7 月 25 日上架 Steam/Epic/PS5/XS
◆《心灵杀手 2》公布实机预告,10 月 17 日发售
◆《如龙 7 外传:无名之龙》新宣传片公布,11 月 9 日上线
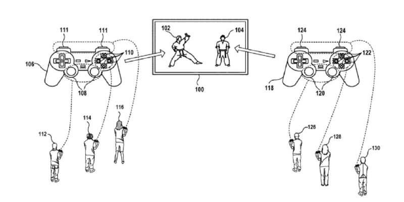
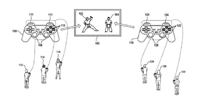
据外媒报道,索尼公开了一项有关PlayStation的专利,这项专利将可以让玩家通过云游戏服务来共享一个手柄,例如让不同的玩家来控制摇杆、按键和扳机键,从而能构建出一些新玩法。
PS商城今日开启「PlayStation Indies」活动,本次优惠活动约有866款游戏内容参与打折,其中《茶杯头》《胡闹厨房:全都好吃》《邪恶冥刻》《咩咩启示录》等各种独立游戏参与折扣,6月21日截止,感兴趣的玩家可以前往优惠页面查看。另外「Days of Play」特卖也仍在进行中,6月12日截止。
今天6月6日起至6月21日,于PS5丶PS4或网页版上的PS Store消费满HK$239并以AlipayHK手机应用程序支付即减HK$20,或消费满HK$85或以上即减HK$10。
于PlayStation Store预购任何版本的《FINAL FANTASY XVI》游戏(标准版/数字豪华版)并以AlipayHK或支付宝手机应用程序支付即可获赠额外追加内容《FINAL FANTASY XVI》乐谱《Sixteen Bells》。

受条款及细则约束:
*只限新用户。优惠名额有限,先到先得。
以支付宝手机应用程序支付会以人民币结算,合资格人士单一消费满CNY¥230或以上即可扣减CNY¥18,或单一消费满CNY¥74或以上即可扣减CNY¥8.8。
🎮
港服PS+高级会员可体验《霍格沃茨之遗》45分钟免费试玩,仅限PS5版。
Capcom Showcase 2023将于北京时间6月13日早上6点举办,节目时长约36分钟
#游戏相关新闻
小岛秀夫宣布今年将《死亡搁浅》带来 Mac 平台。另外苹果推出面向开发人员的新游戏移植工具包,使开发人员可以更轻松地从其他平台移植他们的游戏到 Mac 平台。
Back to Top