「Play Has No Limits」
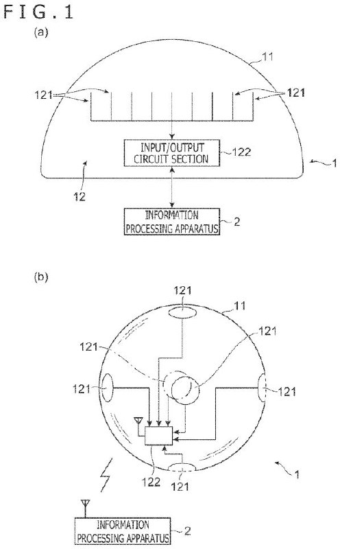
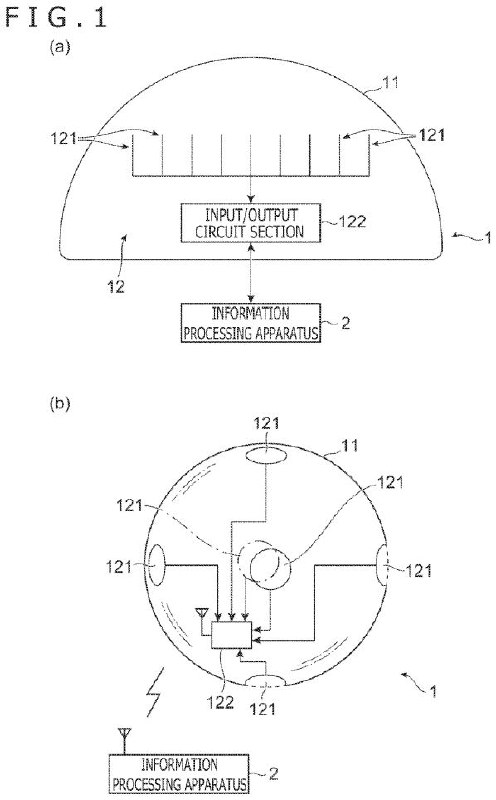
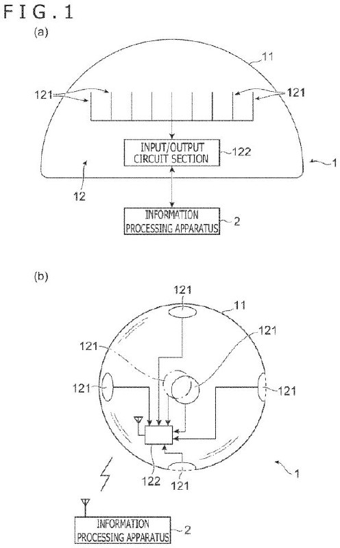
索尼近期申请了一份关于游戏手柄的技术专利,该技术专利描述显示,手柄可根据玩家的游戏内容进行温度变化,增强交互性体验。

在专利具体描述中,索尼提到:本专利将在手柄上设置一种可接受电信号的弹性凝胶,在玩家游戏中进入不同区域后进行温度反馈,例如火山手柄就会变烫,雪原手柄就会变冷,给玩家带来更沉浸式的游戏体验。
《生化危机 4 重制版》佣兵模式现已上线,玩家需要在商店中领取免费的佣兵模式 DLC,并更新游戏才可游玩,目前佣兵模式只包含里昂、路易斯、汉克、克劳萨四名可操作人物,暂时没有威斯克和艾达王。值得注意的是,游戏中手炮的解锁条件追加「以 S 评价完成三场佣兵模式战斗」,解锁更容易了。

另外,今日 Capcom 推出了武器专属强化券 DLC(即高级改造券),提供一张、三张、五张多种购买形式,可以一共购买 23 张,高级改造券会追加至全部存档的「关键物品与珍宝」中,在可以高级改造的时候直接进行改造(专家难度第一次遇到商人即可改造)。


* 今日还推送了1.04版本更新补丁,除了新增“佣兵模式”之外,还修复了PS5版底部画面闪烁、画面细节糊的问题。
小岛工作室发布了免费《死亡搁浅2》PSN头像,输入兑换码即可领取

港服:CRBA-GKNP-J9EK
日服:JP2J-A5NG-PT2F
美服:PRKT-2QNQ-DH4X
欧服:EHNA-6MNB-PGL5
韩服:3D86-9PNF-KABQ

*和之前送的一样的,领过不能再领了
《原子之心》1.4.0.0更新已在主机上推出, 其中包括HUD和字幕大小的设置、为PS5和Xbox Series X/S玩家带来120Hz模式,并修复了成就解锁的问题。此外,该更新补丁还对音视频效果、任务、游戏稳定性等方面进行了改进。 ​​ 🔗 Mundfish #AtomicHeart (@mundfish)
《战神 诸神黄昏》04.00 版本补丁现已更新,正式为游戏加入 New Game+ 内容:

· 奎托斯等级上限增加;9 级装备在 NG+ 中可以升级至更高等级。
· 追加「黑熊盔甲(即开场奎托斯的毛披风)」「斯巴达盔甲」「阿瑞斯盔甲」「宙斯盔甲」「斯巴达阿斯庇斯盾牌」装备和 13 种全新装备外观。
· 全新素材「镀金硬币」「狂战士灵魂水滴」「负担(Burdens )」。
· 全新进程路径 —— 新技能模组 Plus、白金级别挑战、额外数据统计。
· 尼福尔海姆竞技场扩充,允许玩家切换奎托斯和阿特柔斯操作,并可以选择索尔、芙蕾雅、布洛克、辛德里、安格尔伯达、斯露德、英格利特作为伙伴。
· 敌人调整,包括狂战士和女武神王都追加新招式,来为 NG+ 增加新鲜感。
· NG+ 追加两种全新难度。
· 增加黑白画面渲染模式。
· 商店、UI 界面变化,可以在 NG+ 跳过过场动画。 🔗🔗
🎮 官方博客宣布,PS5平台的PlayStation Store游戏列表辅助功能标签将于本周推出。

据悉,辅助功能标签可以让游戏开发者提供有关游戏支持辅助功能的详细信息。这些辅助功能标签包含六大类别:视觉选项、音频选项、字幕选项、DualSense手柄选项、游戏选项以及在线通信选项,该功能支持PS4及PS5的游戏。

在发布时,首批支持该功能的游戏包括:
《往日已逝》
《死亡搁浅 导演剪辑版》
《对马之魂 导演剪辑版》
《战神》
《战神 诸神黄昏》
《GT赛车7》
《蜘蛛侠 高清重制版》
《蜘蛛侠 迈尔斯·墨拉莱斯》
《瑞奇与叮当 时空跳转》

官方表示目前正在与广大的开发人员合作,预计未来几周和几个月内将在他们的PS5游戏中实施此功能。
🔗 Accessibility Tags roll out this week on PlayStation Store on the PS5 console 
#传闻
消息人士 Tom Henderson 近日在一次直播中透露,预计在未来几个月内发文爆料PS5 Pro型号主机的相关消息,随后他提到索尼还在开发新的硬件,预计在PS5 Pro之前上市,他很好奇“索尼的竞争对手们会怎么看待这款硬件”。

除此之外,Tom Henderson还提到他之前从未爆料过这款新硬件,换句话说,这并不是可拆卸光驱版PS5,不是PS5 Pro,也不是PS新耳机或新手柄,具体是什么还需以官方消息为准。

附上一些Tom Henderson截至目前爆料过的索尼硬件:

· PS5 DualSense Edge手柄(成真,现已发售)
· Sony Inzone品牌显示器与耳机(成真,现已发售)
· 可拆卸光驱版PS5“Slim”型号主机(传闻阶段,可能在今年9月上市)
· PS5 无线耳塞与新款无线耳机(传闻阶段,可能在23年底-24年初上市)
· PS5 Pro型号加强版主机(传闻阶段,可能在2024年底发售)
将在4月与PlayStation平台有关的一些值得关注的内容:

4月4日
《Meet Your Maker》
《九十六号公路:零号里程》

4月6日
《Curse of the Sea Rats》

4月7日
《巴别图书馆》

4月11日
《夏洛克·福尔摩斯:觉醒》

4月13日
《妖精剑士 F Refrain Chord》中文版

4月14日
《洛克人 EXE合集》

4月18日
《我的世界:传奇》

4月19日
《地平线 西之绝境》DLC“炙炎海岸”

4月21日
《死亡岛2》

4月25日
《心渊梦境》

4月27日
《邮件时光(Mail Time)》
《时空勇士》

4月28日
《怪物猎人崛起 曙光》
#愚人节
收录了《战神》所有作品的《战神:终极合集版》将于6月31日登陆PS5/PS4平台!
Back to Top