「Play Has No Limits」
SIE宣布 《直到黎明》强化版 将于10月4日登录PS5和PC平台。本作最初于2015年在PS4上发售,此次透过UE5重新打造而成。其进化的视觉效果和全新的音景会为玩家带来更恐怖的电影式体验。

游戏还引进了全新的第三人称视角,人们可以用全新视角体验原版游戏,探索改良&全新的地点、以及新的互动和收藏品。

《直到黎明》强化版将于8月21日开启预约,PC版需要PSN账户。此外,电影版《直到黎明》现也已开拍,目前上映日期未知。 🔗 Until Dawn, rebuilt and enhanced for PS5 and PC, launches October 4
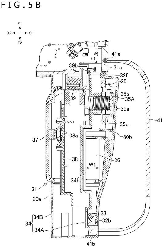
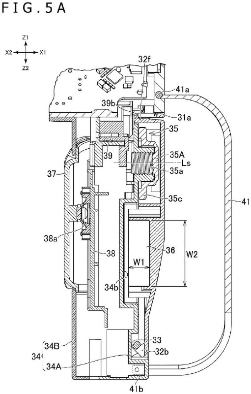
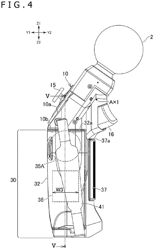
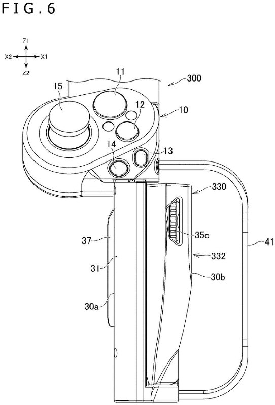
近日,世界知识产权组织(WIPO)公开索尼一项名为「INPUT DEVICE WITH VARIABLE GRIP」的新专利,该专利于2021年9月21日提交申请,涉及可改善振动反馈的手柄。

手柄振动传递强度会根据玩家握持方式变化,例如当手掌与手柄间留有间隙时振动传递的强度会降低。专利中提到的手柄包含主体,构成主体侧面的可活动部分,以及可由玩家手指控制的操作部件。

可活动部分内置振动电机,且与手柄主体的相对位置是可变的。当玩家握持姿势改变时,可活动部分可随之改变贴合玩家手掌,以此改善手柄的振动反馈。
《荒野大镖客:救赎》PSN商店页面出现了:
体验造就了一个游戏世代的史诗西部冒险,现首次登陆 PC 平台。


似乎是在暗示本作即将登陆PC。此前,一位数据挖掘师也发现R星启动器更新了一串字符串,显示《荒野大镖客:救赎》将登陆PC平台。
吉考斯工业与X黑神话之悟空 联合推出「心猿」服饰系列,将于「黑神话京东自营旗舰店」京东今晚8点开售!

心猿归正,万相归真,期待与大家共赏新装。


https://mall.jd.com/index-1000488643.html
Back to Top