「Play Has No Limits」
《剑星》团队新作取景地为中国重庆。 ​​​
Ryan Hurst日前成为从2022年开始传出开发消息的Prime Video游戏改编剧集《战神》(God of War) 的首个演员,将出演该剧的灵魂人物——战神奎托斯。拍摄前筹备已在温哥华展开,更多选角工作也已推进。

剧中,这对父子将他们已故妻子/母亲的骨灰撒向远方。在冒险过程中,奎托斯试图教导儿子如何成为更优秀的神,而阿特柔斯则试图教导父亲如何成为一个更好的人。
作为本剧的主角,奎托斯被描述为“生于斯巴达,本性是神。他成长于尚武的文化中,曾统领军队为祖国效力,直到有一天,他与希腊战神阿瑞斯达成了一项致命的交易,以灵魂为代价换取了战场上的胜利。


注:Ryan Hurst 为《战神5:诸神黄昏》中索尔的动捕和配音演员
《生化危机 安魂曲》× 汉密尔顿联名手表公开,售价分别为 2,175 美元和 1,475 美元。
PlayStation中国2026年货节开启,推新春促销与“春运”主题广告
PlayStation中国近日宣布启动2026年货节促销活动,这是一场专为中国玩家打造的春节特别活动,旨在通过硬件优惠、游戏折扣和趣味互动,让玩家在农历新年期间享受到更多游戏乐趣。活动从2026年1月15日正式开启,持续至2月11日,覆盖了多款热门硬件产品、游戏软件以及限定版周边。
任天堂、索尼互动娱乐与微软三家公司联合发布的关于提升游戏游玩安全性相关原则进行了更新。
本原则最初于2020年首次提出,此次更新后的新版,以“预防”“合作伙伴关系”“责任”三大核心为轴心,纳入了对技术进步及新兴行业课题的应对措施。
三家共同强调“游戏属于所有人”这一理念,表示将通过基于先进技术、研究成果、社区层面以及员工监控等多方面举措,努力为青少年在内的所有玩家提供更加积极、安全且愉快的游戏体验。
🎮 #港服 #欧美服 #二档
2026年1月港/欧美服二档游戏目录、三档经典游戏库额外新增游戏完整列表公布,1月20日起入库。

2️⃣2️⃣
84| PS5 生化危机8 村庄/Resident Evil Village
90| PS5 人中之龙8/Like a Dragon: Infinite Wealth

77| PS5 远征:泥泞奔驰游戏/Expeditions: A MudRunner Game
66| PS5 A Quiet Place: The Road Ahead
81| PS5 暗黑地牢2/Darkest Dungeon II
tbd| PS5 8号出口/The Exit 8
79| PS5 拉力赛艺术/art of rally
75| PS5 往左一点/A Little to the Left

3️⃣3️⃣
79| PS5/PS4 山脊赛车/Ridge Racer
billbil-kun爆料本月二档将于1月20号入库
2️⃣2️⃣
《生化危机村庄》
《人中之龙8》
《远征:泥泞奔驰游戏》
《A Quiet Place: The Road Ahead》
《8号出口》
《拉力赛艺术(art of rally)》
3️⃣3️⃣
《山脊赛车》
PS5「Hyperpop系列」三款主机外壳和 DualSense 无线控制器将于3月12日在海外推出(国行待确定)。
DualSense 无线控制器的建议零售价为 84.99 美元 / 12,480 日元(含税) / 84.99 欧元 / 74.99 英镑。
PS5 主机保护壳将在部分市场限量发售,建议零售价为 74.99 美元 / 11,480 日元(含税) / 74.99 欧元 / 64.99 英镑。 🔗
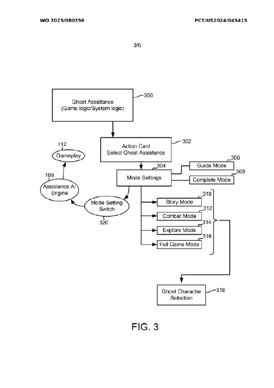
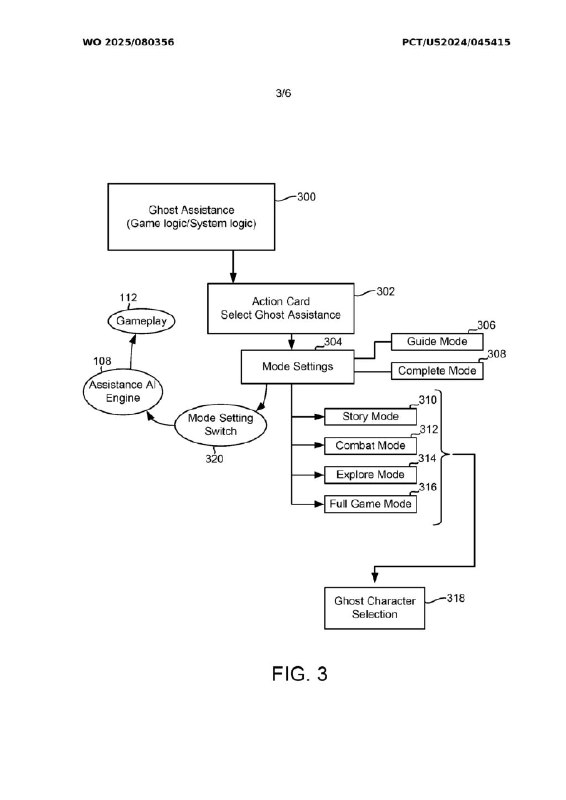
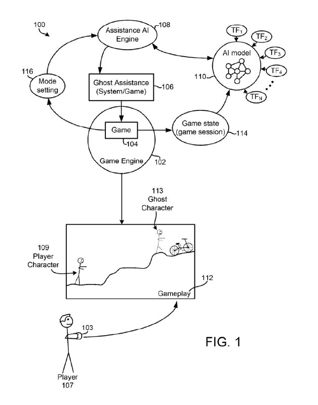
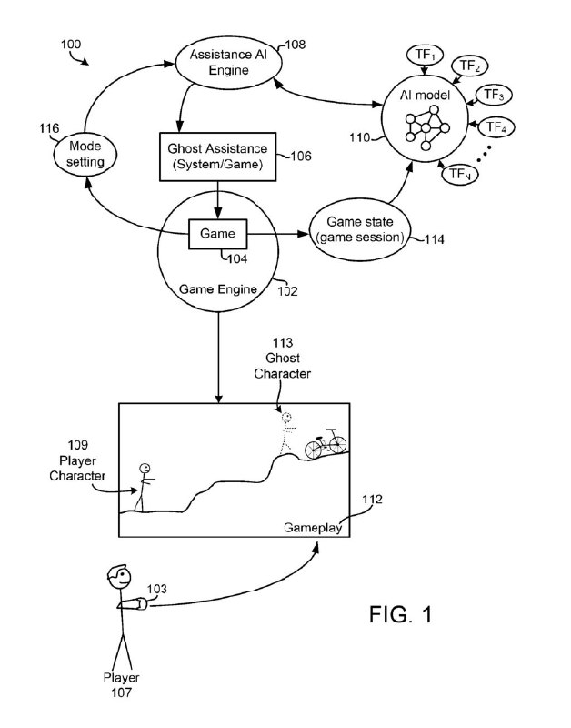
近日,世界知识产权组织公开了索尼AI专利「Ghost Assistance」的进展。该专利于2024年9月提交申请,功能为当玩家卡关时,可以召唤一个AI生成的角色来辅助解谜/通关。

例如,玩家在玩《神秘海域》时被某个解谜关卡卡住,“Guide Mode”似乎会生成一个由AI操控的内森·德雷克来演示解法,之后再由玩家自己操作。而“Complete Mode”则会直接为玩家通关该部分。不过,目前尚不清楚索尼未来是否会将该功能作为PS5游戏帮助系统的升级版来推出。
PlayStation快闪店将于1月13日起在日本东京和京都限时开设,届时将推出包括鼠标垫、磁吸徽章在内的周边。
Limited Run Games《完美音浪》PS5和Xbox实体版将于1月16日至3月1日期间开启预售,分为三种版本:Rhythm版售价39.99美元;Smidge Edition版售价69.99美元;Armstrong Edition版售价174.99美元,均包含豪华版游戏和三个服装DLC。
Back to Top