「Play Has No Limits」
🎮 #港服 #欧美服 #二档
2026年1月港/欧美服二档游戏目录、三档经典游戏库额外新增游戏完整列表公布,1月20日起入库。

2️⃣2️⃣
84| PS5 生化危机8 村庄/Resident Evil Village
90| PS5 人中之龙8/Like a Dragon: Infinite Wealth

77| PS5 远征:泥泞奔驰游戏/Expeditions: A MudRunner Game
66| PS5 A Quiet Place: The Road Ahead
81| PS5 暗黑地牢2/Darkest Dungeon II
tbd| PS5 8号出口/The Exit 8
79| PS5 拉力赛艺术/art of rally
75| PS5 往左一点/A Little to the Left

3️⃣3️⃣
79| PS5/PS4 山脊赛车/Ridge Racer
billbil-kun爆料本月二档将于1月20号入库
2️⃣2️⃣
《生化危机村庄》
《人中之龙8》
《远征:泥泞奔驰游戏》
《A Quiet Place: The Road Ahead》
《8号出口》
《拉力赛艺术(art of rally)》
3️⃣3️⃣
《山脊赛车》
PS5「Hyperpop系列」三款主机外壳和 DualSense 无线控制器将于3月12日在海外推出(国行待确定)。
DualSense 无线控制器的建议零售价为 84.99 美元 / 12,480 日元(含税) / 84.99 欧元 / 74.99 英镑。
PS5 主机保护壳将在部分市场限量发售,建议零售价为 74.99 美元 / 11,480 日元(含税) / 74.99 欧元 / 64.99 英镑。 🔗
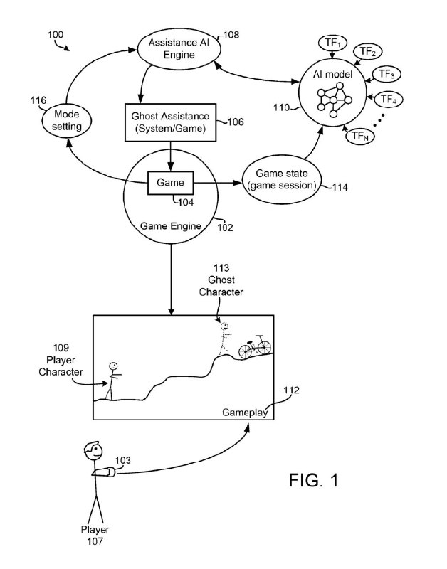
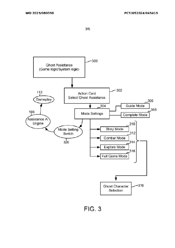
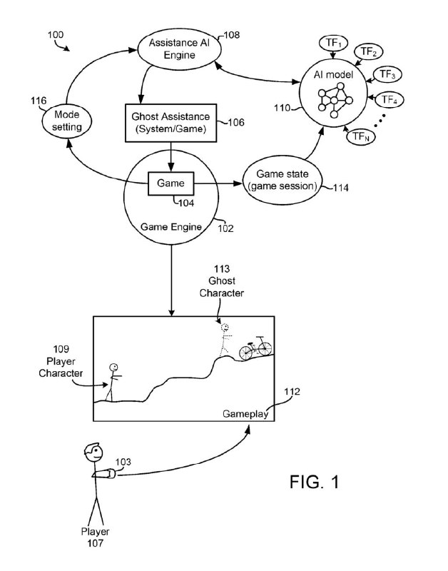
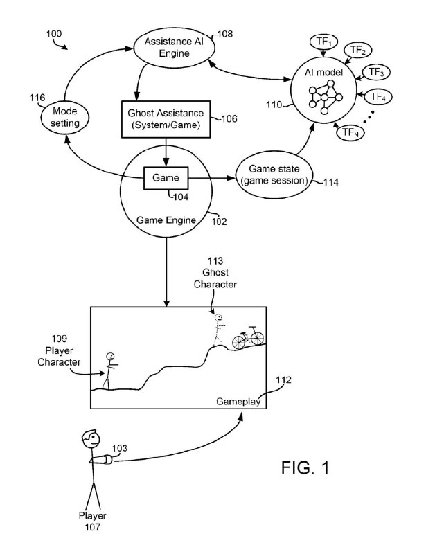
近日,世界知识产权组织公开了索尼AI专利「Ghost Assistance」的进展。该专利于2024年9月提交申请,功能为当玩家卡关时,可以召唤一个AI生成的角色来辅助解谜/通关。

例如,玩家在玩《神秘海域》时被某个解谜关卡卡住,“Guide Mode”似乎会生成一个由AI操控的内森·德雷克来演示解法,之后再由玩家自己操作。而“Complete Mode”则会直接为玩家通关该部分。不过,目前尚不清楚索尼未来是否会将该功能作为PS5游戏帮助系统的升级版来推出。
PlayStation快闪店将于1月13日起在日本东京和京都限时开设,届时将推出包括鼠标垫、磁吸徽章在内的周边。
Limited Run Games《完美音浪》PS5和Xbox实体版将于1月16日至3月1日期间开启预售,分为三种版本:Rhythm版售价39.99美元;Smidge Edition版售价69.99美元;Armstrong Edition版售价174.99美元,均包含豪华版游戏和三个服装DLC。
小岛秀夫分享了他的2025年度片单,排名为观看的先后顺序。

院线电影:
《秘密会议》
《九龙城寨之围城》
《拿针的女孩》
《血爱成河》
《秋日何时来》
《罪人》
《异教徒》
《接近终点》
《捕风追影》
《情感价值》
《敌》
《人偶之家》
《国宝》
《爆弹》


流媒体电影:
《弗兰肯斯坦》
《K-POP:猎魔女团》

电视剧:
《混沌少年时》
《永航员》
《同乐者》
《武士生死斗》

4K修复重映电影:
《天堂之日》(1978年)
《坠入》(2006年)
《红气球》(1956年)
《新桥恋人》(1991年)
万代南梦宫娱乐宣布,《噬血代码2》将于1月23日推出角色创建体验版。

玩家可抢先试玩丰富的自定义功能、探索部分设施,并将已创建的角色数据继承至游戏本篇。

游戏将于1月30日正式发售,登陆PS5、Xbox Series X|S以及Steam平台
PlayStation香港“节日限定优惠”阵容更新,涵盖从近期大作到经典名作的多个品类:

《寂静岭f》豪华版迎来40%折扣,现价316.2港币
《死亡搁浅2 冥滩之上》数字豪华版提供25%优惠,现价471港币
《剑星》豪华版降价43%,现价323.76港币。
《巫师3:狂猎》完全版在PS5与PS4平台均享有80%的折扣,仅售77.8港币
《荒野大镖客:救赎2》终极版80%的折扣,现价152.2港币
《极限竞速:地平线5》豪华版降价40%至222港币
Back to Top