「Play Has No Limits」
《黑神话:悟空》媒体评分解禁

MC站均分82分,收录54家媒体测评。国内媒体游民星空打出10分。

IGN给出8分,表示:
尽管存在一些令人沮丧的技术问题,但《黑神话:悟空》还是一个伟大的动作游戏,有奇妙的战斗,激动人心的BOSS,诱人的秘密,和一个美丽的世界。


GS也给出8分,表示:
在《黑神话:悟空》中,你可以与一群中国神话中最著名的人物们进行惊心动魄的BOSS大战,但中间的部分令人失望。
《黑神话:悟空》评分即将于今晚解禁,评分汇总网站Metacritic也发布了自己的评分预测。
根据其X关注者的前130个精准分数预测,《黑神话:悟空》的MC均分将为89.3分。
重走西游 · 余四日,今日无事

有事明早再议,且睡!且睡!
复古射击游戏《火湖》公布了最新预告片,宣布将在原有的XSX丨S、Xbox One和PC版的基础上,追加发售PS5、PS4、Switch版本;同时,本作的发售日将从2024年内推迟至2025年。 ​​​
Media is too big
VIEW IN TELEGRAM
《勇敢小骑士》新预告,2024年9月17日在NS/PS/Xbox/PC平台发售。将于发售首日加入PS Plus会员🎮 二三档游戏库。

原本存在于故事书里的角色突然意识到书页之外有着三维的世界,而他们必须在2D与3D的领域之间跳跃穿梭才能拯救他们的朋友。我们迷人的动作冒险游戏也就开始于此。 ​​​
Media is too big
VIEW IN TELEGRAM
【开奖完成通知】
⚠️中奖的设置好userName

抽奖 ID: 369a52e8e2bf03f7
抽奖标题: 抽奖 10 X 50Star
中奖用户列表:
- 1856057930 获得了 "50🌟"
- 712278521 获得了 "50🌟"
- 278858759 获得了 "50🌟"
- 7237060904 获得了 "50🌟"
- 5142545518 获得了 "50🌟"
- 1035784219 获得了 "50🌟"
- 5041377973 获得了 "50🌟"
- 5035939869 获得了 "50🌟"
- 5929478014 获得了 "50🌟"
- 1598734211 获得了 "50🌟"
该中奖结果基于 Ethereum 区块高度 20533294 计算,结果公正有效。
https://lottery.67696769.xyz/lottery/369a52e8e2bf03f7
《黑神话:悟空》发售倒计时五天,北京时间8月20日上午10点整全球统一解锁。
据 Shinobi602透露,下周将有一款大型Xbox游戏公告登录PS平台。随后另外一位Xbox相关情报的爆料人eXtas1s在个人社媒动态中转发了上述内容并配了一张写有“feliz Cinco de Mayo”字样的图片。这或许在暗示接下来将要登录PS的游戏为《极限竞速:地平线5》。
#抽奖 10个人 每人50Star

参与条件:
- 加入频道: PlayStation 新闻转发
奖品内容:
- 50⭐️ * 10

中奖的设置好userName,否则无法兑奖
🎮 #港服 #欧美服 #目录
2024年8月港/欧美服二档游戏目录、三档经典游戏库新增游戏完整列表公布,将于8月20日入库:

2️⃣2️⃣
85 | PS4/PS5 《巫师3 狂猎》
79 | PS5 《狂野之心》
82 | PS4/PS5 《咩咩启示录》
75 | PS5 《Ride 5》
82 | PS4 《看门狗2》
58 | PS4/PS5 《刀剑神域 异绊集结》
72 | PS4 《刀剑神域:彼岸游境》
64 | PS4 《刀剑神域:夺命凶弹》
69 | PS4 《刀剑神域:虚空幻界》
61 | PS4 《火影忍者博人传:新忍出击》


3️⃣3️⃣
《度假模拟器》PS VR2
《时空分裂者》PS2
《时空分裂者2》PS2
《时空分裂者:完美未来》PS2
《刀剑神域:失落之歌》(仅提供流媒体版本)
SIE宣布 《直到黎明》强化版 将于10月4日登录PS5和PC平台。本作最初于2015年在PS4上发售,此次透过UE5重新打造而成。其进化的视觉效果和全新的音景会为玩家带来更恐怖的电影式体验。

游戏还引进了全新的第三人称视角,人们可以用全新视角体验原版游戏,探索改良&全新的地点、以及新的互动和收藏品。

《直到黎明》强化版将于8月21日开启预约,PC版需要PSN账户。此外,电影版《直到黎明》现也已开拍,目前上映日期未知。 🔗 Until Dawn, rebuilt and enhanced for PS5 and PC, launches October 4
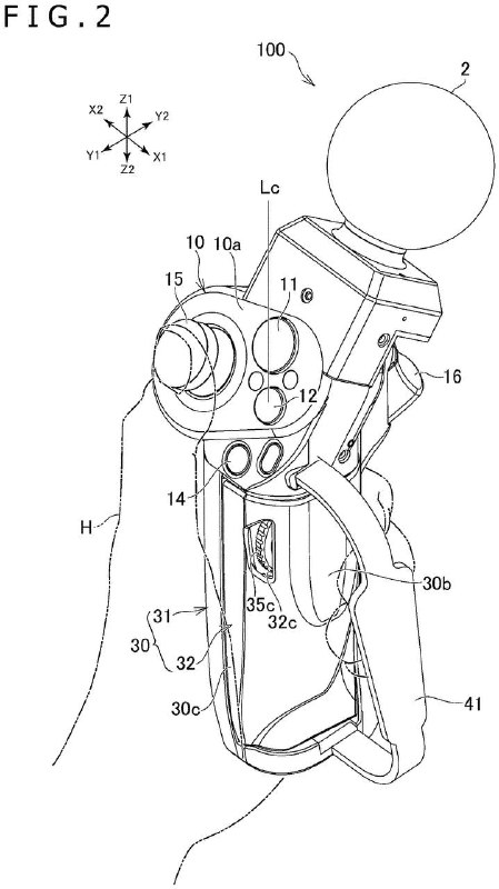
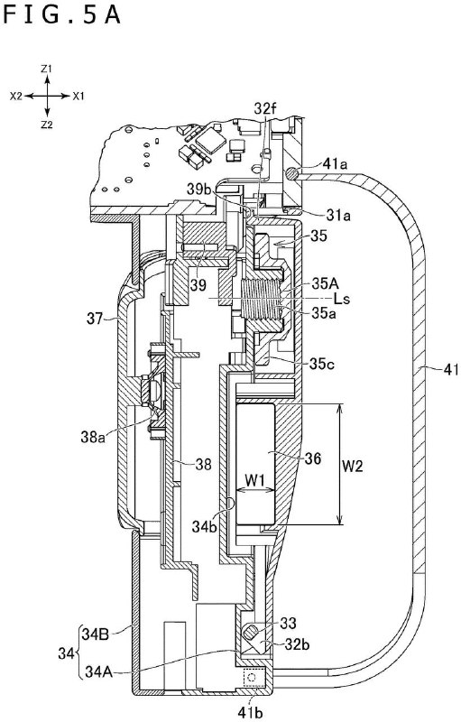
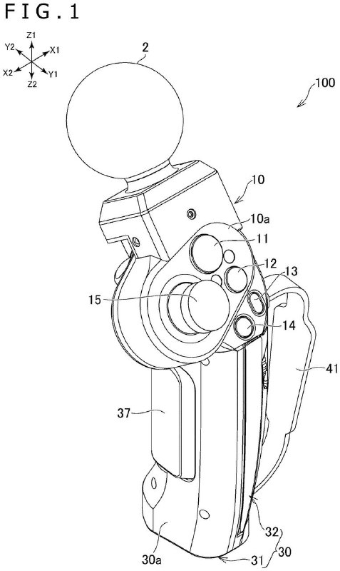
近日,世界知识产权组织(WIPO)公开索尼一项名为「INPUT DEVICE WITH VARIABLE GRIP」的新专利,该专利于2021年9月21日提交申请,涉及可改善振动反馈的手柄。

手柄振动传递强度会根据玩家握持方式变化,例如当手掌与手柄间留有间隙时振动传递的强度会降低。专利中提到的手柄包含主体,构成主体侧面的可活动部分,以及可由玩家手指控制的操作部件。

可活动部分内置振动电机,且与手柄主体的相对位置是可变的。当玩家握持姿势改变时,可活动部分可随之改变贴合玩家手掌,以此改善手柄的振动反馈。
Back to Top